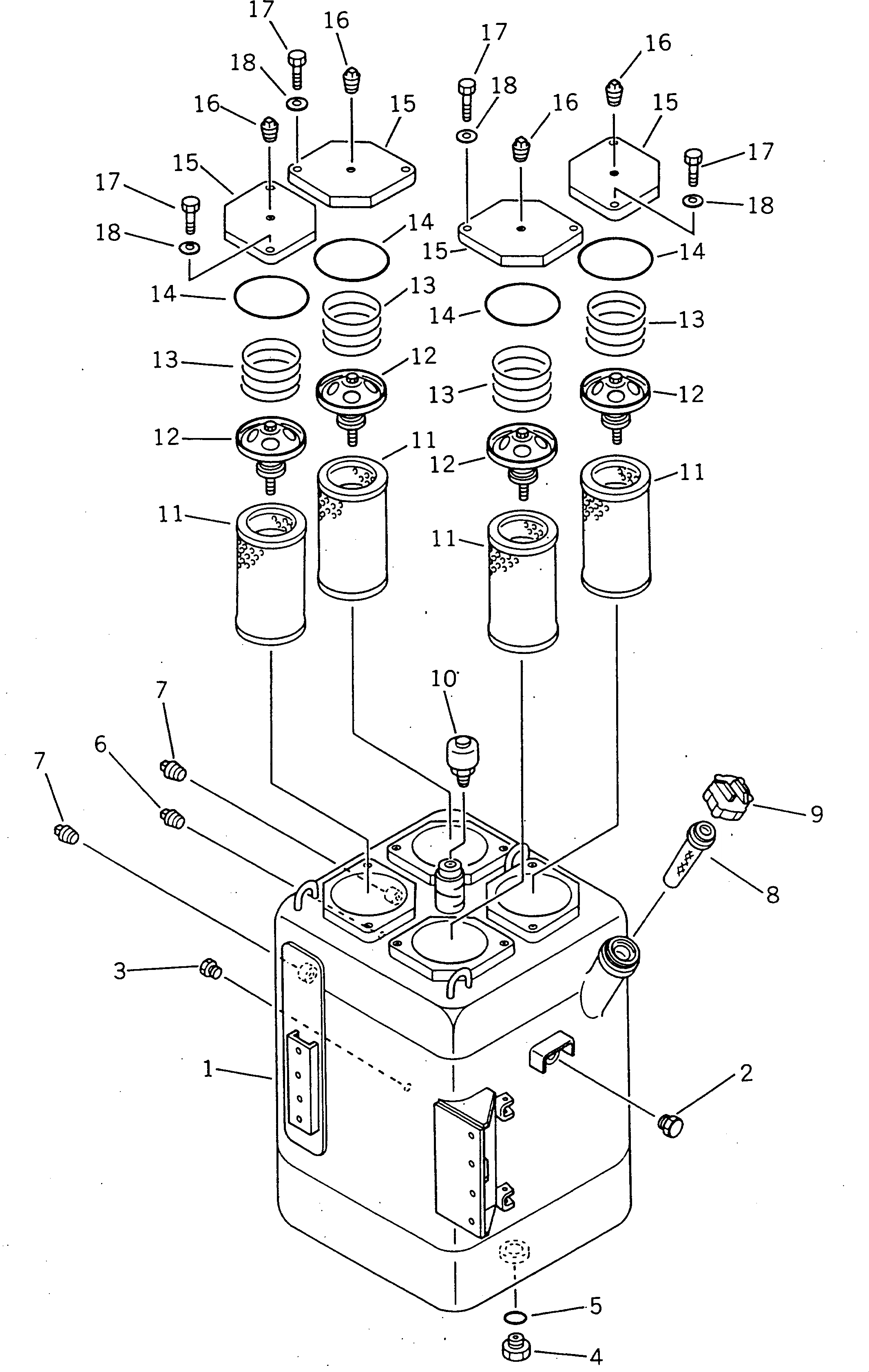
| |1 | 569-60-47003 | TANK ASS'Y | |
| 1 | TANK | ||
| 2 | 20N-60-11141 | GAUGE | |
| 3 | 287-35-11470 | PLUG | |
| 4 | 07044-13620 | PLUG | |
| 5 | 07002-03634 | O-RING | |
| 6 | 07042-00211 | PLUG | |
| 7 | 07042-20108 | PLUG | |
| 8 | 07056-10045 | STRAINER | |
| 9 | 07051-01000 | CAP | |
| |9 | 07051-00003 | GASKET | |
| 10 | 566-60-15361 | BREATHER | |
| |10 | 566-60-15360 | BREATHER | |
| |10 | 419-60-15250 | ELEMENT | |
| |10 | 285-62-17320 | ELEMENT | |
| |10 | 419-60-15270 | O-RING | |
| 11 | 195-60-16320 | ELEMENT | |
| 12 | 195-60-16300 | VALVE ASS'Y | |
| 13 | 195-60-16330 | SPRING | |
| 14 | 07000-05175 | O-RING | |
| 15 | 566-60-42120 | COVER | |
| 16 | 07042-20108 | PLUG | |
| 17 | 01010-51440 | BOLT | |
| 18 | 01643-31445 | WASHER |