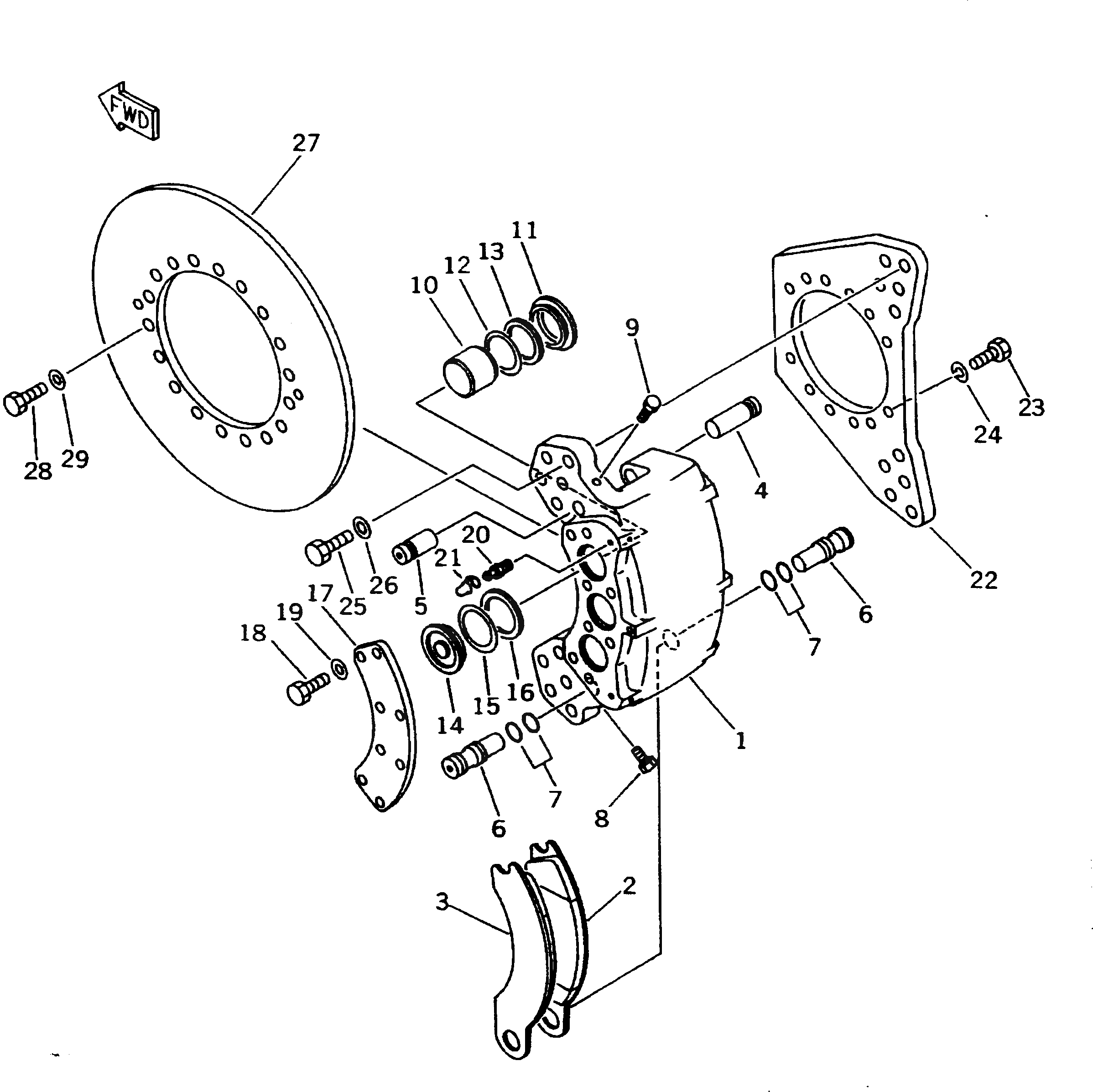
| |$0 | 566-32-53101 | BRAKE ASS'Y | |
| 1 | PLATE | ||
| |$2 | 566-32-05221 | PAD ASS'Y | |
| 2 | 566-32-53211 | PAD | |
| 3 | 566-32-53221 | PAD | |
| 4 | 566-32-53260 | PIN | |
| 5 | 566-32-53270 | PIN | |
| 6 | 566-32-53281 | PIN | |
| 6 | 566-32-53280 | PIN | |
| 7 | 566-32-53750 | O-RING | |
| 8 | 566-32-53310 | BOLT | |
| 9 | 566-32-53320 | BOLT | |
| 10 | 566-32-53810 | PISTON | |
| 11 | SEAL (K6) | ||
| 12 | SEAL (K6) | ||
| 13 | RING (K6) | ||
| 14 | 566-32-53820 | PLUG | |
| 15 | RING (K6) | ||
| 16 | SEAL (K6) | ||
| 17 | 566-32-53240 | PLATE | |
| 18 | 566-32-53880 | BOLT | |
| 19 | 566-32-53890 | WASHER | |
| 20 | 566-32-53860 | BLEEDER | |
| 21 | 232-32-11350 | CAP | |
| 22 | 566-32-51131 | PLATE | |
| 23 | 01010-62055 | BOLT | |
| 24 | 01602-22060 | WASHER,SPRING | |
| 25 | 01010-62465 | BOLT | |
| 26 | 01643-32460 | WASHER | |
| 27 | 566-32-51120 | DISC | |
| 28 | 01010-62065 | BOLT | |
| 29 | 01643-32060 | WASHER |