Запчасти капот(№-8) экскаваторы pc230lc-6 s/n 10001-up Komatsu



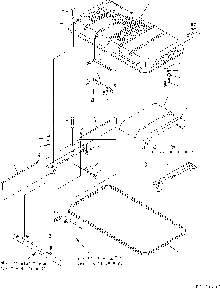
1 20Y-54-27113 HOOD
2 20Y-54-27123 HINGE (WELDED)
3 20Y-54-27172 U-BOLT
4 20Y-54-27330 PLATE
5 01580-11210 NUT
|5 01580-01210 NUT
6 01643-31232 WASHER
7 20Y-54-27242 SHEET
8 20Y-54-27261 SHEET
9 20Y-54-29290 SEAL
10 20Y-54-27323 FRAME
|10 20Y-54-27322 FRAME
11 20Y-54-27360 BRACKET
12 20Y-54-27141 SPRING
13 20Y-54-27131 SPRING
14 01010-51225 BOLT
15 01643-31232 WASHER
16 20Y-54-27370 STAY
17 20Y-54-27290 STAY
18 04205-11230 PIN
19 04050-13022 PIN
20 01010-51230 BOLT
21 01643-31232 WASHER
1
2
3
4
4
5
5
6
6
7
8
9
10
10
11
12
13
14
15
16
17
18
18
18
19
19
19
20
20
20
21
21
21
X
Рассчитать