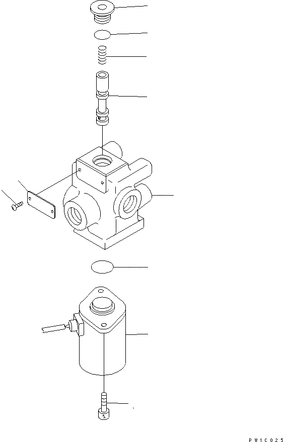
Запчасти соленоидный клапан (внутр. части) экскаваторы pc228us-3e0 s/n 40001-up (tier 3) Komatsu



|$1 20Y-60-32110 VALVE ASS'Y
1 BLOCK
2 20Y-60-32121 SOLENOID ASS'Y
2 20Y-60-32120 SOLENOID ASS'Y
3 NY08000-02200 PLUG
4 NY06339-10200 SPRING
5 NY07493-10200 SPOOL
6 NY09000-11400 PLATE
7 NY84110-00264 SCREW
8 NY81446-05010 BOLT
9 07000-12011 O-RING
10 07000-12016 O-RING
1
2
3
4
5
6
7
8
9
10
X
Рассчитать