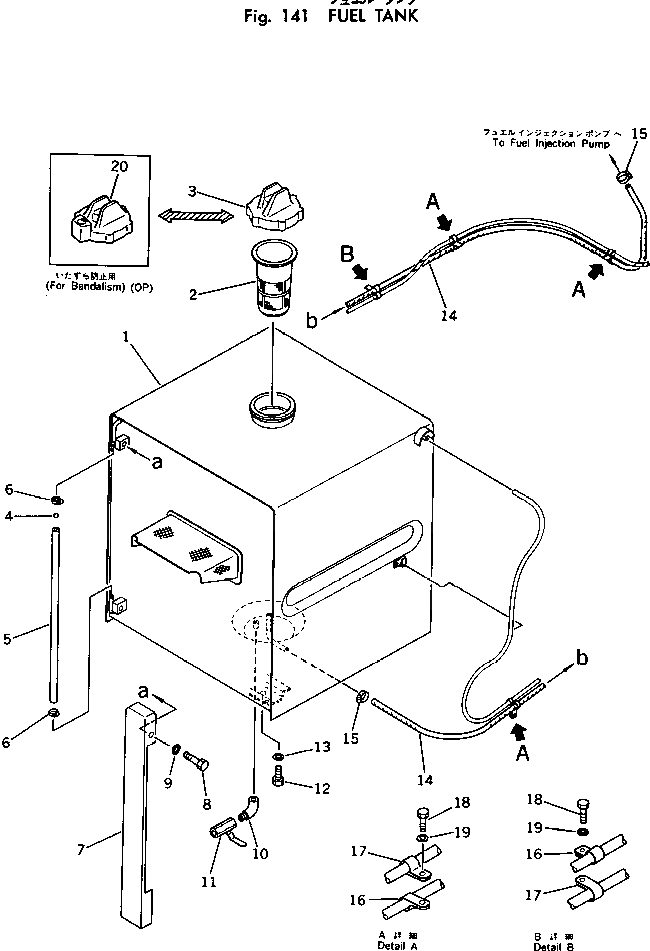
| |$0 | 205-04-00013 | FUEL TANK ASS'Y | |
| 1 | TANK | ||
| 2 | 07056-18416 | STRAINER | |
| 3 | 07050-21200 | CAP | |
| 4 | 201-04-21160 | BALL,FLOAT | |
| 5 | 205-04-62220 | TUBE | |
| 6 | 07281-00197 | CLAMP | |
| 7 | 205-04-62231 | COVER | |
| 8 | 01010-31225 | BOLT | |
| 9 | 01643-31232 | WASHER | |
| 10 | 07323-30200 | ELBOW | |
| 11 | 07700-40240 | VALVE | |
| 12 | 01010-51635 | BOLT | |
| 13 | 01643-31645 | WASHER | |
| 14 | 205-04-62240 | HOSE | |
| 15 | 07281-00197 | CLAMP | |
| 16 | 08036-10814 | CLIP | |
| 17 | 08036-01814 | CLIP | |
| 18 | 01010-51025 | BOLT | |
| 19 | 01643-31032 | WASHER | |
| 20 | 07091-01200 | CAP,(FOR VANDALISM PROTECTION) |