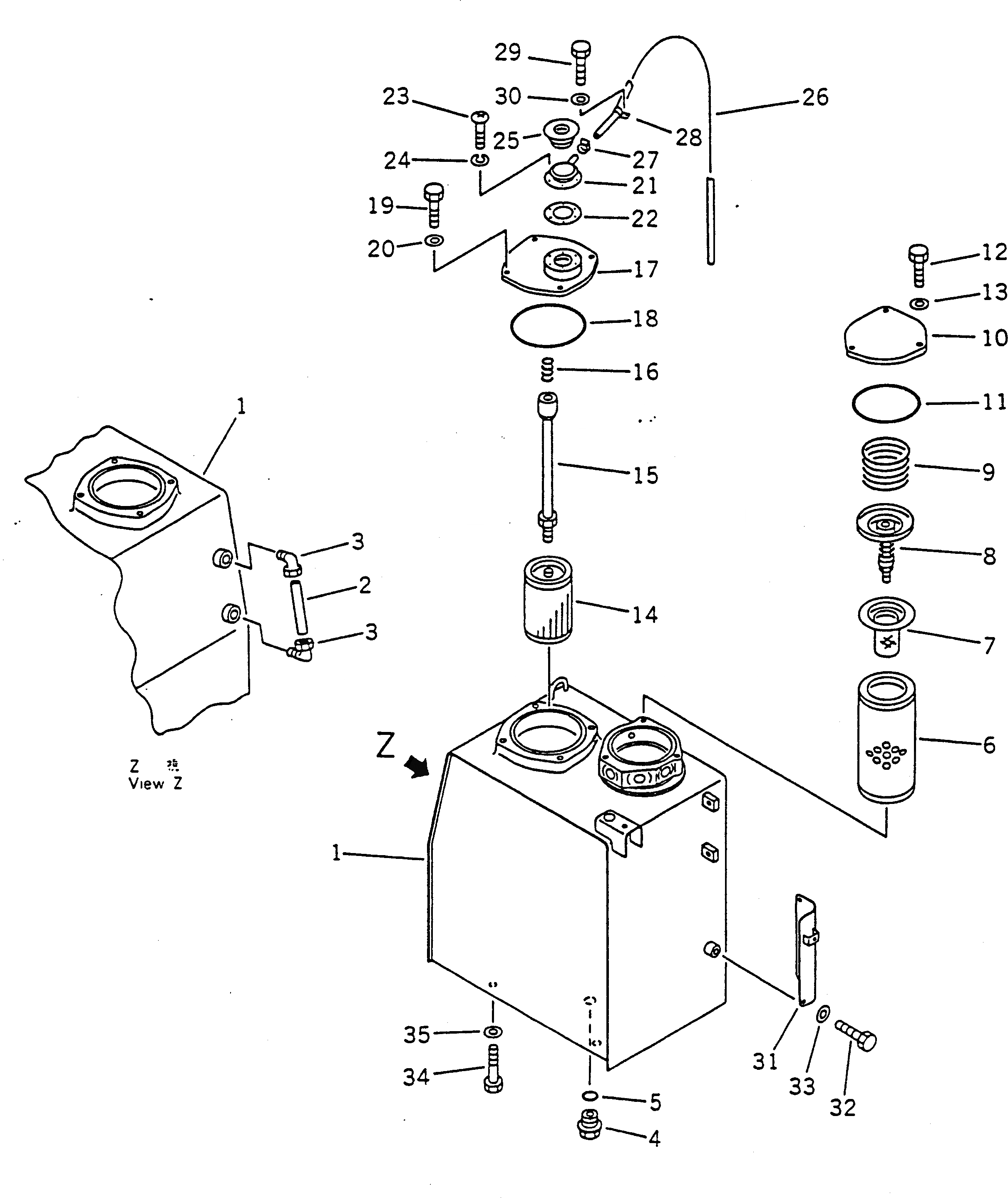
| |$0 | 203-60-00412 | HYDRAULIC TANK ASS'Y | |
| 1 | TANK | ||
| 2 | 203-60-31160 | TUBE | |
| 3 | 203-60-31100 | ELBOW ASS'Y | |
| 4 | 07044-12412 | PLUG | |
| 5 | 07002-02434 | O-RING | |
| 6 | 07063-01100 | ELEMENT | |
| 7 | 203-60-52260 | STRAINER | |
| 8 | 203-60-52250 | VALVE ASS'Y | |
| 9 | 175-60-27340 | SPRING | |
| 10 | 203-60-52230 | PLATE | |
| 11 | 07000-05155 | O-RING | |
| 12 | 01010-51025 | BOLT | |
| 13 | 01643-31032 | WASHER | |
| 14 | 203-60-56250 | STRAINER | |
| 15 | 21K-60-33120 | ROD | |
| 16 | 12R-60-11230 | SPRING | |
| 17 | 21K-60-33130 | COVER | |
| 18 | 07000-05180 | O-RING | |
| 19 | 01010-51025 | BOLT | |
| 20 | 01643-31032 | WASHER | |
| 21 | 201-60-12171 | FILLER NECK | |
| 22 | 205-60-51460 | GASKET | |
| 23 | 01220-40516 | SCREW | |
| 24 | 01601-20513 | WASHER,SPRING | |
| 25 | 201-60-12190 | CAP ASS'Y | |
| 26 | 07270-00895 | TUBE | |
| 27 | 07280-01110 | CLAMP | |
| 28 | 08036-03014 | CLIP | |
| 29 | 01010-51020 | BOLT | |
| 30 | 01643-31032 | WASHER | |
| 31 | 203-60-56240 | BRACKET | |
| 32 | 01010-51020 | BOLT | |
| 33 | 01643-31032 | WASHER | |
| 34 | 01010-51440 | BOLT | |
| 35 | 01643-31445 | WASHER |