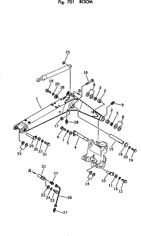
| |1 | 202-70-00140 | BOOM ASS'Y | |
| 1 | BOOM | ||
| 2 | 202-70-48160 | BUSHING | |
| 3 | 07145-00075 | SEAL | |
| 4 | 202-70-48130 | PIN | |
| 5 | 203-70-31230 | PLATE | |
| 6 | 01010-31430 | BOLT | |
| 7 | 01643-31445 | WASHER | |
| 8 | 202-70-48140 | SPACER¤ 1.0MM | |
| |8 | 202-70-48150 | SPACER¤ 0.5MM | |
| 9 | 07020-00000 | FITTING | |
| 10 | 203-70-31220 | PIN | |
| 11 | 203-70-31230 | PLATE | |
| 12 | 01010-31430 | BOLT | |
| 13 | 01643-31445 | WASHER | |
| 14 | 203-70-24150 | SPACER¤ 1.0MM | |
| |14 | 203-70-24160 | SPACER¤ 2.0MM | |
| 15 | 203-70-31180 | SHAFT | |
| 16 | 202-70-11441 | BOLT | |
| 17 | 01599-01617 | NUT | |
| 18 | 202-70-11211 | HOLDER | |
| 19 | 01010-31435 | BOLT | |
| 20 | 01643-31445 | WASHER | |
| 21 | 202-70-48180 | PIN | |
| 22 | 203-70-31230 | PLATE | |
| 23 | 01010-31430 | BOLT | |
| 24 | 01643-31445 | WASHER | |
| 25 | 203-70-24170 | SPACER¤ 1.0MM | |
| 26 | 202-70-11410 | TUBE | |
| 27 | 07214-60610 | CONNECTOR | |
| 28 | 07020-00000 | FITTING | |
| 29 | 202-70-41140 | PIN | |
| 30 | 203-70-31230 | PLATE | |
| 31 | 01010-31430 | BOLT | |
| 32 | 01643-31445 | WASHER | |
| 33 | 203-70-34260 | SPACER¤ 0.5MM | |
| |33 | 202-70-11640 | SPACER¤ 1.0MM |