zakaz@zapkomat.su
8 800 777-45-32
Расчитать заявку
Каталог
Типы
Гидравлика
Крепеж
Прокладки
Соединения
Кожухи
Электрика
Справочник
Запрос сотрудничества
Сервисным организациям
Контакты
Главная
Справочник
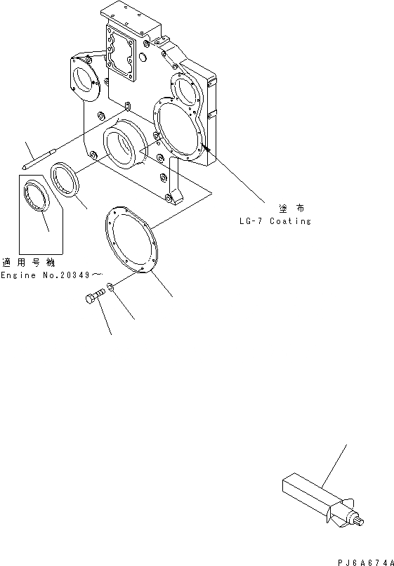
Запчасти передн. крышкаэлементы крепления(№9-) самосвалы hd465-5 s/n 4001-up Komatsu
1
6162-23-3230
COVER
2
01010-80816
BOLT
3
01602-00825
WASHER,SPRING
4
6162-25-3370
POINTER
5
6162-23-3510
SEAL, FRONT (K2)
6
6162-23-3520
SEAL,DUST
7
09920-00150
LIQUID GASKET,LG-7, 150G
1
2
3
4
5
6
7
X
Рассчитать
Ваше имя:
Телефон *:
E-mail:
Сообщение: Пришлите наличие и стоимость
Оформить заказ