| |1 | 6210-71-6201 | FUEL FILTER ASS'Y | |
| |1 | 6210-71-6200 | FUEL FILTER ASS'Y | |
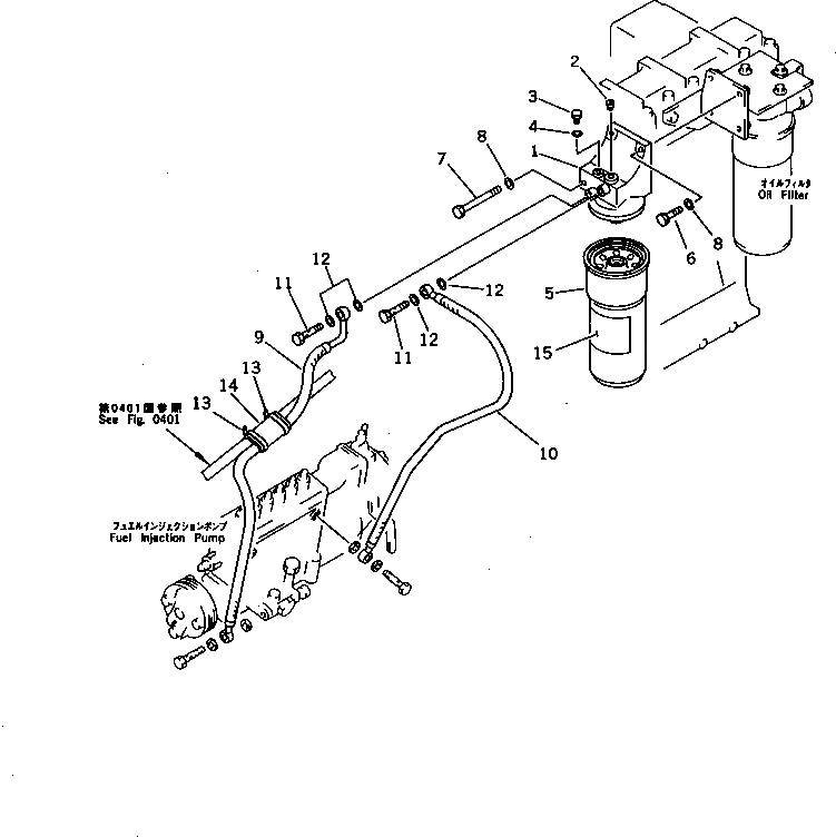
| 1 | 6210-71-6210 | HEAD | |
| 2 | 07043-00108 | PLUG | |
| 3 | 6110-73-6231 | PLUG | |
| 4 | 07005-00812 | GASKET | |
| |4 | 07005-00812 | GASKET (K2) | |
| 5 | 600-311-7131 | CARTRIDGE | |
| |5 | 600-311-7130 | CARTRIDGE | |
| 6 | 01010-51035 | BOLT | |
| 7 | 01011-51015 | BOLT | |
| 8 | 01640-21016 | WASHER | |
| 9 | 6150-71-5450 | HOSE | |
| 10 | 07271-11465 | HOSE | |
| 11 | 07206-31014 | BOLT,JOINT | |
| 12 | 07005-01412 | GASKET (K2) | |
| 13 | 08034-00519 | BAND | |
| 14 | 205-62-72140 | COVER | |
| 15 | 600-311-8612 | PLATE¤ CAUTION,(ENGLISH) | |
| |15 | 600-311-8643 | PLATE¤ CAUTION,(ENGLISH-FRENCH) | |
| |15 | 600-311-8632 | PLATE¤ CAUTION,(ENGLISH-GERMAN) | |
| |15 | 600-311-8652 | PLATE¤ CAUTION,(ARABIC) | |
| |15 | 600-311-8562 | PLATE¤ CAUTION,(CHINESE) | |
| |15 | 600-311-8542 | PLATE¤ CAUTION,(INDONESIAN) |