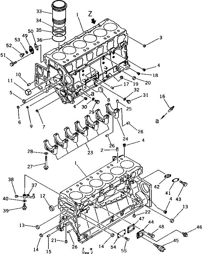
| |$0 | 6211-21-1102 | CYLINDER BLOCK ASS'Y | |
| 1 | BLOCK,CYLINDER | ||
| 2 | 04020-00820 | PIN,DOWEL | |
| 3 | 6210-41-2430 | PIN | |
| 4 | 07043-70108 | PLUG | |
| 5 | 07046-42516 | PLUG | |
| 6 | 07046-41810 | PLUG | |
| 7 | 07046-11816 | PLUG | |
| 8 | 6210-21-1790 | BUSHING | |
| 9 | 07046-41008 | PLUG | |
| 10 | 6210-21-1910 | PIN | |
| 11 | 6210-21-1490 | BUSHING,CAMSHAFT | |
| 12 | 07046-47020 | PLUG | |
| 13 | 07046-43516 | PLUG | |
| 14 | 6210-81-9210 | PLUG | |
| 15 | 6150-21-4770 | PIN,DOWEL | |
| 16 | 6150-21-5910 | BUSHING | |
| 17 | 04020-01024 | PIN,DOWEL | |
| 18 | 07043-00211 | PLUG | |
| 19 | 07046-42010 | PLUG | |
| 20 | 07046-42816 | PLUG | |
| 21 | 07043-00415 | PLUG | |
| 22 | 07043-71019 | PLUG | |
| 23 | 6210-21-1210 | CAP,MAIN METAL, NO.1,2,3,4,5,6 | |
| 24 | 6210-21-1250 | CAP,MAIN METAL, NO.7 | |
| 25 | 04020-00514 | PIN,DOWEL | |
| 26 | 6210-21-1390 | PIN | |
| 27 | 6210-21-1710 | BOLT | |
| 28 | 01643-31845 | WASHER | |
| 29 | 07040-11007 | PLUG | |
| 30 | 07005-01012 | GASKET (K2) | |
| 31 | 07040-11409 | PLUG | |
| 32 | 07005-01412 | GASKET (K2) | |
| 33 | 6211-21-2210 | LINER,CYLINDER | |
| 33 | 6211-21-2220 | LINER,CYLINDER | |
| 34 | 6210-21-2250 | SEAL,CREVICE (K2) | |
| 35 | 6210-21-2240 | O-RING,CENTER (K2) | |
| 36 | 6210-21-2230 | O-RING,LOWER (K2) | |
| 37 | 6211-21-1820 | NOZZLE,PISTON COOLING | |
| 38 | 02720-40104 | PLUG | |
| 39 | 6150-81-9120 | BOLT | |
| 40 | 01641-21016 | WASHER | |
| 41 | 6210-21-1820 | PLATE | |
| 42 | 6210-61-6550 | GASKET (K2) | |
| 43 | 01010-51025 | BOLT | |
| 44 | 6210-21-1960 | COVER | |
| 45 | 600-815-1292 | SWITCH,THERMO | |
| 46 | 287-35-11470 | PLUG | |
| 47 | 6210-21-1970 | GASKET (K2) | |
| 48 | 01010-51025 | BOLT | |
| 49 | 6210-21-1950 | FLANGE | |
| 50 | 6696-61-9920 | GASKET (K2) | |
| 51 | 01010-51225 | BOLT | |
| 52 | 07040-11409 | PLUG | |
| 53 | 07005-01412 | GASKET | |
| 54 | 09605-01440 | PLATE, NAME,(ENGLISH) | |
| 55 | 04418-02550 | SCREW |