zakaz@zapkomat.su
8 800 777-45-32
Расчитать заявку
Каталог
Типы
Гидравлика
Крепеж
Прокладки
Соединения
Кожухи
Электрика
Справочник
Запрос сотрудничества
Сервисным организациям
Контакты
Главная
Справочник
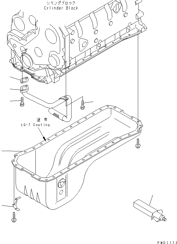
Запчасти масляный поддон и всасывающий патрубок(№7-7) двигатели sa6d102e-1b-7 s/n 26200163-up Komatsu
1
6735-51-5531
TUBE,SUCTION
2
6733-21-5520
GASKET (K2)
2
6732-21-5510
GASKET
3
6732-21-6630
BOLT
4
6732-71-3220
BOLT
5
6735-21-5140
PAN,OIL
6
6732-21-5270
PLATE
7
09920-00150
LIQUID GASKET,LG-7, 150G
1
2
3
4
5
6
7
X
Рассчитать
Ваше имя:
Телефон *:
E-mail:
Сообщение: Пришлите наличие и стоимость
Оформить заказ