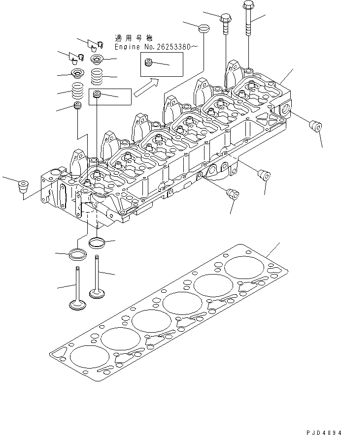
Запчасти головка цилиндров двигатели s6d102e-1k s/n 26200929-up Komatsu



|1 6731-11-1370 HEAD ASS'Y
|1 6735-11-1020 HEAD ASS'Y
1 HEAD
|1 HEAD
2 6736-11-1150 PLUG
3 6732-11-1170 INSERT,EXHAUST
4 6732-11-1180 INSERT,INTAKE
5 6732-11-1910 PLUG
6 6732-11-1920 PLUG
7 6732-11-1930 PLUG
8 6732-41-4530 SEAL,EXHAUST
9 6732-41-4540 SEAL
|9 6732-41-4540 SEAL,INTAKE
|10 6736-41-4110 INTAKE VALVE ASS'Y
10 VALVE
11 6732-41-4520 COTTER
|12 6736-41-4210 EXHAUST VALVE ASS'Y
12 VALVE
13 6732-41-4520 COTTER
14 6732-41-4410 SPRING
15 6731-41-4510 RETAINER
|15 6732-41-4510 RETAINER
16 6732-11-1610 BOLT
17 6732-11-1620 BOLT
18 6735-11-1821 GASKET
|18 6735-11-1820 GASKET
1
2
3
4
5
5
6
7
8
9
9
10
11
12
13
14
14
15
15
16
17
18
X
Рассчитать