- Главная
- Справочник
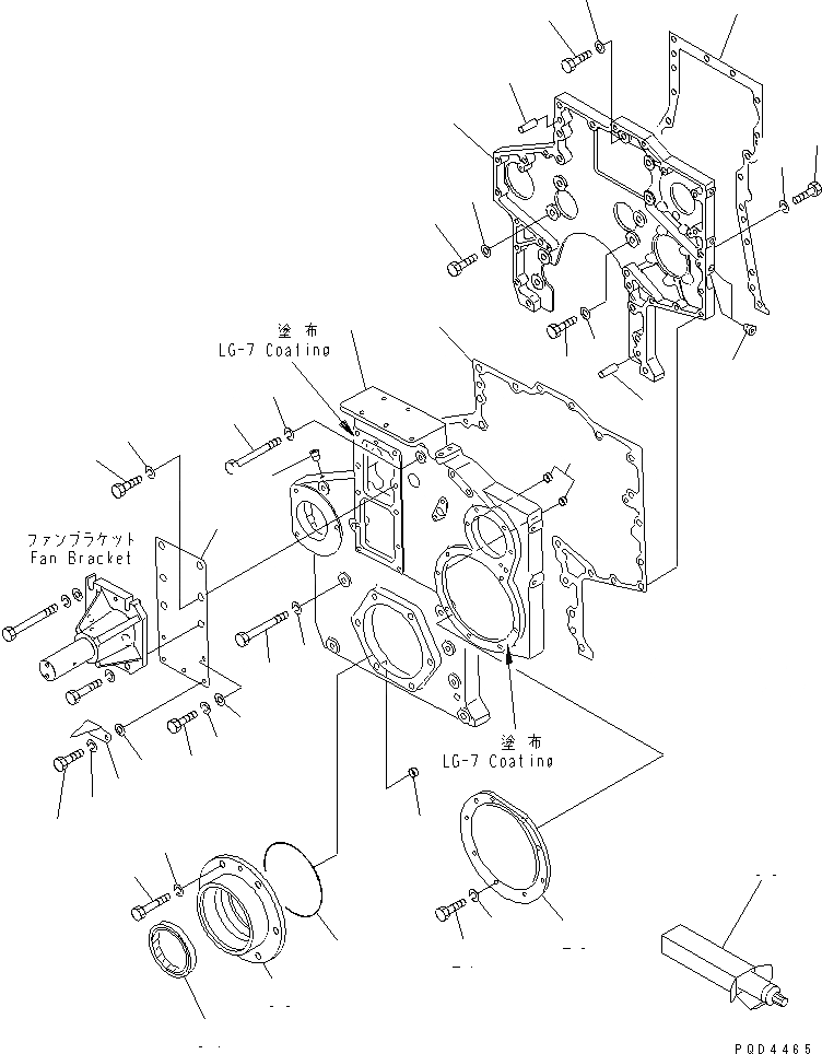
Запчасти корпус шестеренн. передачи и передн. крышка(механический насос спец-я.)(№7-78) двигатели s6d170-1g-6a s/n 10001-up Komatsu
|
|
|$1 |
6162-23-3012 |
GEAR CASE ASS'Y
|
|
|
1 |
|
CASE,GEAR
|
|
|
2 |
07043-50108 |
PLUG
|
|
|
3 |
04020-01434 |
PIN,DOWEL
|
|
|
4 |
6162-23-3811 |
GASKET (K2)
|
|
|
4 |
6162-23-3810 |
GASKET (K2)
|
|
|
5 |
01010-61450 |
BOLT
|
|
|
6 |
01010-61440 |
BOLT
|
|
|
7 |
01010-61435 |
BOLT
|
|
|
8 |
01643-31445 |
WASHER
|
|
|
9 |
6162-23-3020 |
COVER ASS'Y
|
|
|
9 |
|
COVER,GEAR CASE
|
|
|
10 |
07043-50108 |
PLUG
|
|
|
11 |
07046-11216 |
PLUG
|
|
|
12 |
07046-11816 |
PLUG
|
|
|
13 |
6162-23-3251 |
GASKET (K2)
|
|
|
13 |
6162-23-3250 |
GASKET (K2)
|
|
|
14 |
01011-61410 |
BOLT
|
|
|
15 |
01602-01442 |
WASHER,SPRING
|
|
|
16 |
01010-31260 |
BOLT
|
|
|
17 |
01010-31285 |
BOLT
|
|
|
18 |
01602-01236 |
WASHER,SPRING
|
|
|
19 |
6162-23-3370 |
PLATE
|
|
|
20 |
01010-61430 |
BOLT
|
|
|
21 |
01010-30825 |
BOLT
|
|
|
22 |
01010-30820 |
BOLT
|
|
|
23 |
01602-01442 |
WASHER,SPRING
|
|
|
24 |
01602-00825 |
WASHER,SPRING
|
|
|
25 |
01640-20816 |
WASHER
|
|
|
26 |
6162-23-3230 |
COVER
|
|
|
27 |
01010-30816 |
BOLT
|
|
|
28 |
01602-00825 |
WASHER,SPRING
|
|
|
29 |
6162-23-3350 |
POINTER
|
|
|
30 |
6162-23-9910 |
TRUNNION
|
|
|
31 |
07000-65175 |
O-RING (K2)
|
|
|
32 |
01010-61440 |
BOLT
|
|
|
33 |
01602-01442 |
WASHER,SPRING
|
|
|
34 |
6162-23-3510 |
SEAL, FRONT (K2)
|
|
|
34 |
6215-29-4320 |
FRONT SEAL ASS'Y,REPAIR KIT
|
|
|
34 |
|
SEAL, FRONT,(NOT SHOWN)
|
|
|
34 |
|
SLEEVE,(NOT SHOWN)
|
|
|
35 |
09920-00150 |
LIQUID GASKET,LG-7, 150G
|
1
2
3
3
4
5
6
7
8
8
8
9
10
11
12
13
14
15
16
17
18
18
19
20
21
22
23
24
24
25
25
26
27
28
29
30
31
32
33
34
35