| |$0 | 709-26-13104 | VALVE ASS'Y | |
| |$1 | 709-26-13103 | VALVE ASS'Y | |
| |$2 | 709-26-13102 | VALVE ASS'Y | |
| |$3 | 709-26-13101 | VALVE ASS'Y | |
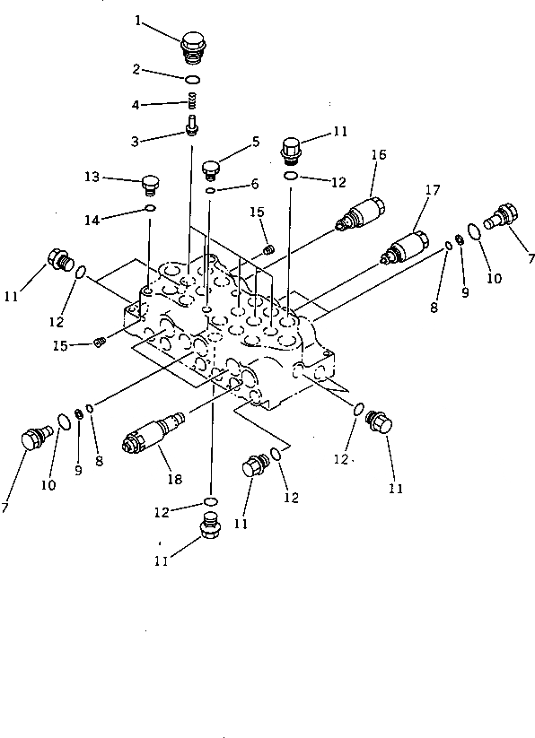
| 1 | 709-25-11640 | PLUG | |
| 2 | 07000-12020 | O-RING | |
| 3 | 709-25-11650 | VALVE | |
| 4 | 709-25-11361 | SPRING | |
| 5 | 07040-11409 | PLUG | |
| 6 | 07002-01423 | O-RING | |
| 7 | 709-25-11380 | PLUG | |
| 8 | 07000-12010 | O-RING | |
| 9 | 07001-02010 | RING,BACK-UP | |
| 10 | 709-25-11390 | O-RING | |
| 11 | 708-7B-16570 | PLUG | |
| 11 | 706-77-72280 | PLUG | |
| 12 | 07002-12034 | O-RING | |
| 13 | 07040-11409 | PLUG | |
| 14 | 07002-01423 | O-RING | |
| 15 | 07043-70108 | PLUG | |
| 16 | 709-20-61700 | VALVE ASS'Y,SUCTION AND SAFETY | |
| 17 | 709-20-61301 | VALVE ASS'Y,SUCTION AND SAFETY | |
| 18 | 709-20-51800 | RELIEF VALVE ASS'Y |