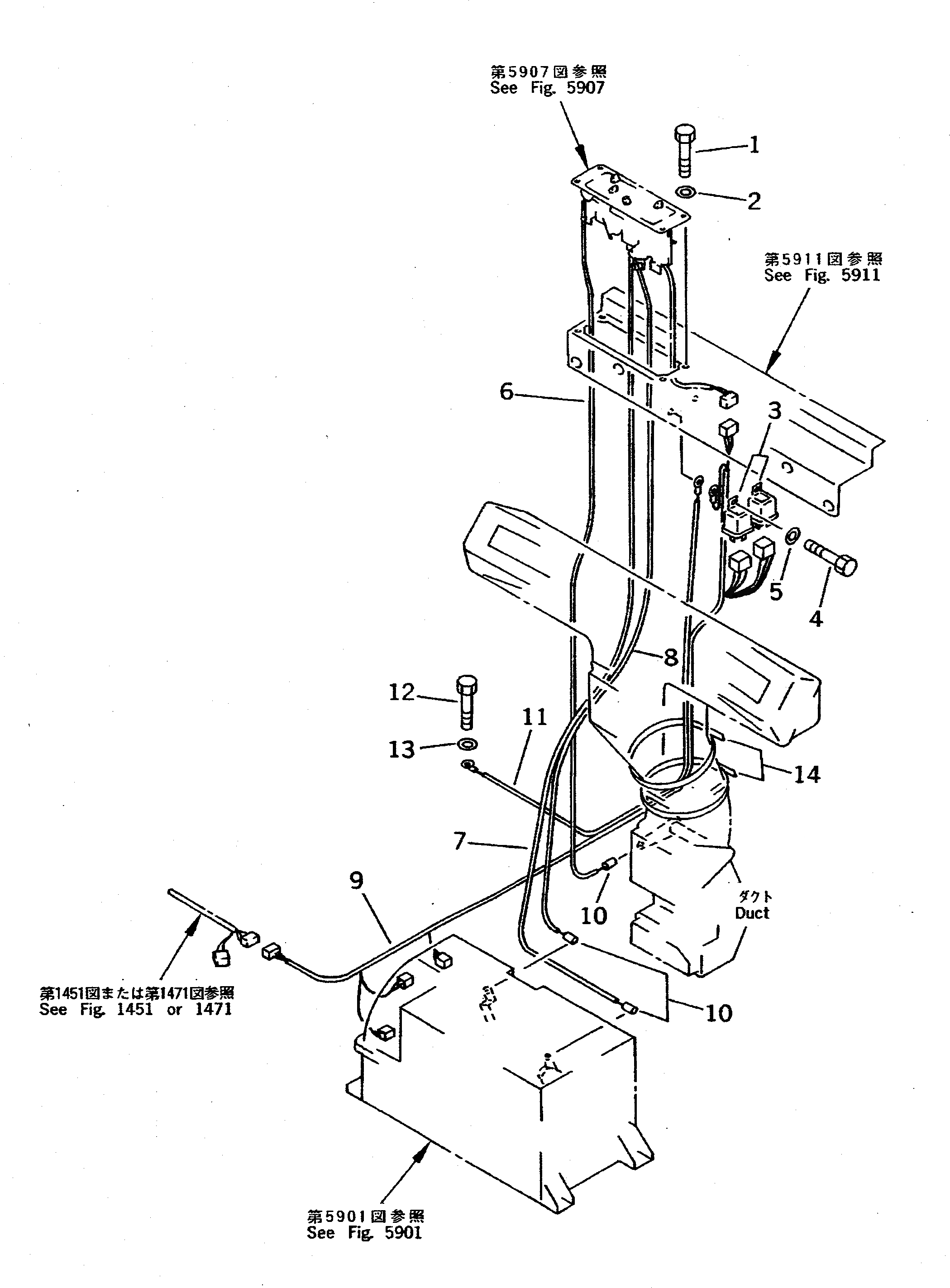
Запчасти электрика (кондиц. воздуха)(№-8) экскаваторы pc410lc-5 s/n 10001-up Komatsu



G-1 208-979-X110 AIR CONDITIONER G.
1 01010-50816 BOLT
2 01643-30823 WASHER
3 205-979-6460 RELAY ASS'Y
4 01010-50816 BOLT
5 01643-30823 WASHER
6 205-979-1170 CABLE
7 205-979-1160 CABLE
8 205-979-1150 CABLE
9 205-979-1330 WIRING HARNESS
10 195-979-4160 BUSHING
11 20Y-979-1520 WIRING HARNESS
12 01010-50812 BOLT
13 01643-30823 WASHER
14 08034-20876 BAND
X
Рассчитать