- Главная
- Справочник
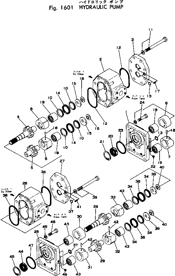
Запчасти гидр. насос. грейдеры gd705r-1a s/n 2052-up Komatsu
|
|
|1 |
07430-66100 |
PUMP ASS'Y,(PAL032-100)
|
|
|
1 |
|
BRACKET
|
|
|
2 |
|
CASE,GEAR
|
|
|
3 |
|
COVER
|
|
|
4 |
|
GEAR,DRIVE
|
|
|
5 |
|
GEAR,DRIVEN
|
|
|
6 |
|
BUSHING
|
|
|
7 |
|
BUSHING
|
|
|
8 |
|
BUSHING
|
|
|
9 |
|
BUSHING
|
|
|
10 |
|
RING,BACK-UP
|
|
|
11 |
|
BOLT
|
|
|
|11 |
|
WASHER
|
|
|
12 |
|
O-RING
|
|
|
13 |
|
O-RING
|
|
|
14 |
|
U-RING
|
|
|
15 |
|
PLATE,SEAL
|
|
|
16 |
|
COLLAR
|
|
|
17 |
|
PIN,ROLL
|
|
|
18 |
|
PIN
|
|
|
19 |
|
BEARING,NEEDLE
|
|
|
20 |
07430-11162 |
SEAL,OIL
|
|
|
21 |
04065-04518 |
RING,SNAP
|
|
|
22 |
07043-00108 |
PLUG,TAPER
|
|
|
23 |
07000-13068 |
O-RING
|
|
|
24 |
01010-31245 |
BOLT
|
|
|
|24 |
01602-01236 |
WASHER
|
|
|
|25 |
07430-67100 |
PUMP ASS'Y
|
|
|
25 |
|
BRACKET
|
|
|
26 |
|
CASE,GEAR
|
|
|
27 |
|
COVER
|
|
|
28 |
|
GEAR,DRIVE
|
|
|
29 |
|
GEAR,DRIVEN
|
|
|
30 |
|
BUSHING
|
|
|
31 |
|
BUSHING
|
|
|
32 |
|
BUSHING
|
|
|
33 |
|
BUSHING
|
|
|
34 |
|
RING,BACK-UP
|
|
|
35 |
|
BOLT
|
|
|
|35 |
|
WASHER
|
|
|
36 |
|
O-RING
|
|
|
37 |
|
O-RING
|
|
|
38 |
|
U-RING
|
|
|
39 |
|
PLATE,SEAT
|
|
|
40 |
|
COLLAR
|
|
|
41 |
|
PIN,ROLL
|
|
|
42 |
|
PIN
|
|
|
43 |
|
BEARING,NEEDLE
|
|
|
44 |
07430-11162 |
SEAL,OIL
|
|
|
45 |
04065-04518 |
RING,SNAP
|
|
|
46 |
07043-00108 |
PLUG,TAPER
|
|
|
47 |
07000-03068 |
O-RING
|
|
|
48 |
01010-31245 |
BOLT
|
|
|
49 |
01602-01236 |
WASHER
|