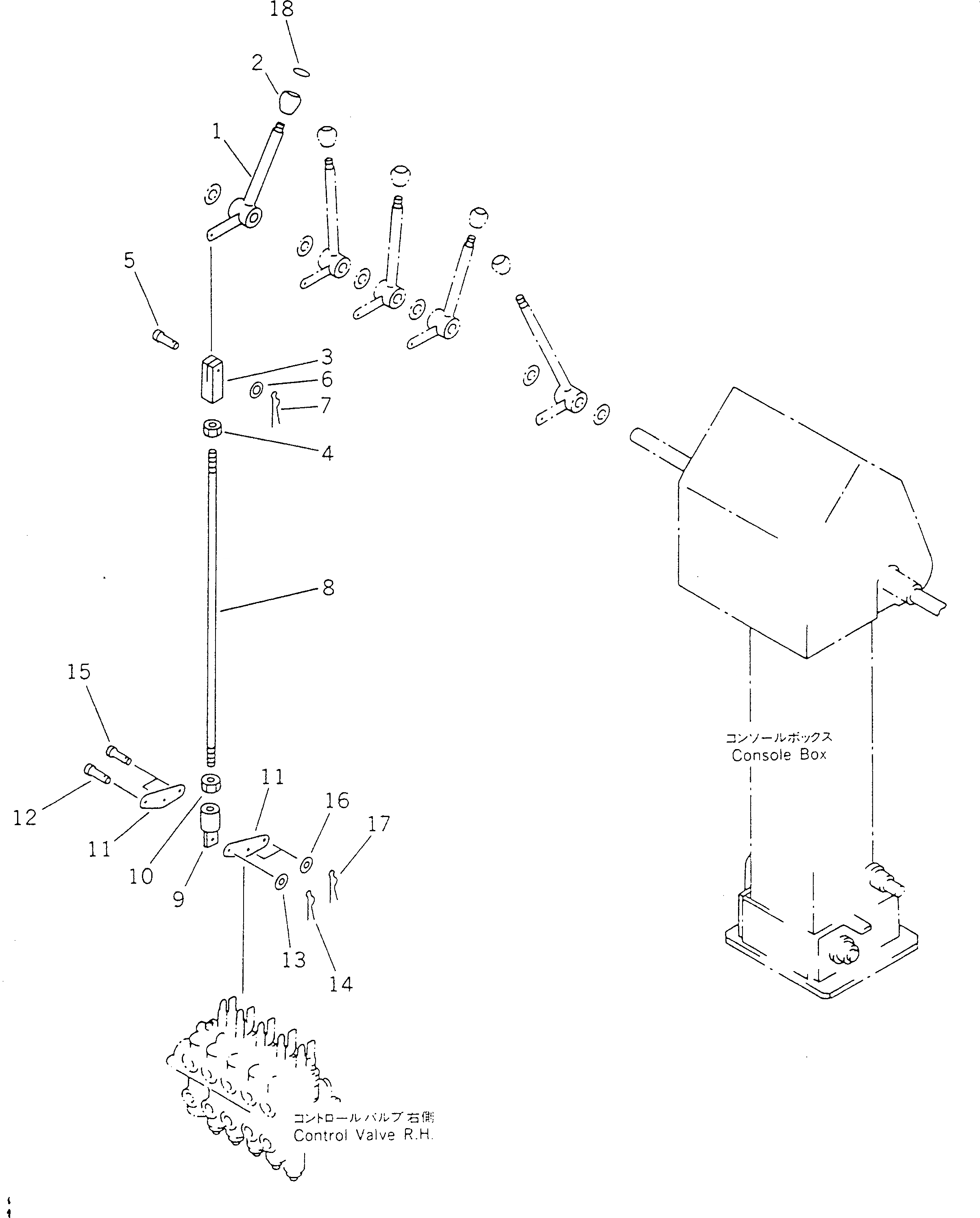
| 1 | 23A-43-18260 | LEVER,FRONT BLADE | |
| 2 | 237-43-17480 | KNOB | |
| 3 | 04221-20844 | YOKE,L.H. THREAD | |
| 4 | 01508-20805 | NUT,L.H. THREAD | |
| 5 | 04205-10822 | PIN | |
| 6 | 01641-20608 | WASHER | |
| 7 | 234-43-18710 | PIN,SNAP | |
| 8 | 23A-43-18460 | ROD | |
| 9 | 23A-43-18290 | JOINT | |
| 10 | 01580-10806 | NUT | |
| 11 | 23A-43-18320 | PLATE | |
| 12 | 04205-10616 | PIN | |
| 13 | 01641-20608 | WASHER | |
| 14 | 233-43-27750 | PIN,SNAP | |
| 15 | 23A-43-18360 | PIN | |
| 16 | 01641-20508 | WASHER | |
| 17 | 04052-00530 | PIN,SNAP | |
| 18 | 234-870-8511 | PLATE, OPERATING |