| |$0 | 700-24-14000 | VALVE ASS'Y | |
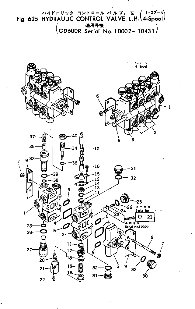
| 1 | BODY | ||
| 2 | BLOCK | ||
| 3 | COVER | ||
| 4 | O-RING | ||
| 5 | O-RING | ||
| 6 | 700-24-11111 | STUD | |
| 7 | 01580-00806 | NUT | |
| 8 | 700-24-11120 | BOLT | |
| 9 | 700-22-11220 | ANGLE | |
| 10 | SPOOL | ||
| 11 | 700-22-11251 | U-PACKING | |
| 12 | 700-22-11420 | GASKET | |
| 13 | 700-22-11430 | COLLAR | |
| 14 | 700-22-11261 | SEAL | |
| 15 | 700-22-11270 | PLATE | |
| 16 | 01252-40616 | BOLT | |
| 17 | 700-22-11281 | PLATE | |
| 18 | 700-22-11290 | RETAINER | |
| 19 | 700-22-11831 | SPRING | |
| 20 | 700-22-11320 | PLUG | |
| 21 | 700-22-11331 | COVER | |
| 21 | 700-22-11330 | COVER | |
| 22 | 01252-40616 | BOLT | |
| 23 | 700-22-12340 | BALL | |
| 23 | 700-22-11340 | VALVE | |
| 24 | 700-22-12350 | SPRING | |
| 24 | 700-72-31210 | SPRING | |
| 25 | 700-22-11351 | PLUG | |
| 25 | 700-22-11350 | PLUG | |
| 26 | 07002-12434 | O-RING | |
| 27 | 700-22-11380 | PLUG | |
| 28 | 07000-12014 | O-RING | |
| 29 | 07002-02434 | O-RING | |
| 30 | 700-22-11370 | PLUG | |
| 30 | 07040-12414 | PLUG | |
| 31 | 700-22-11370 | PLUG | |
| 32 | 07002-02434 | O-RING | |
| |$44 | 700-20-54000 | VALVE ASS'Y | |
| 33 | SLEEVE | ||
| 34 | POPPET | ||
| 35 | PISTON | ||
| 36 | 07000-12014 | O-RING | |
| 37 | SPRING | ||
| 38 | 07002-02434 | O-RING | |
| 39 | O-RING | ||
| 40 | NUT |