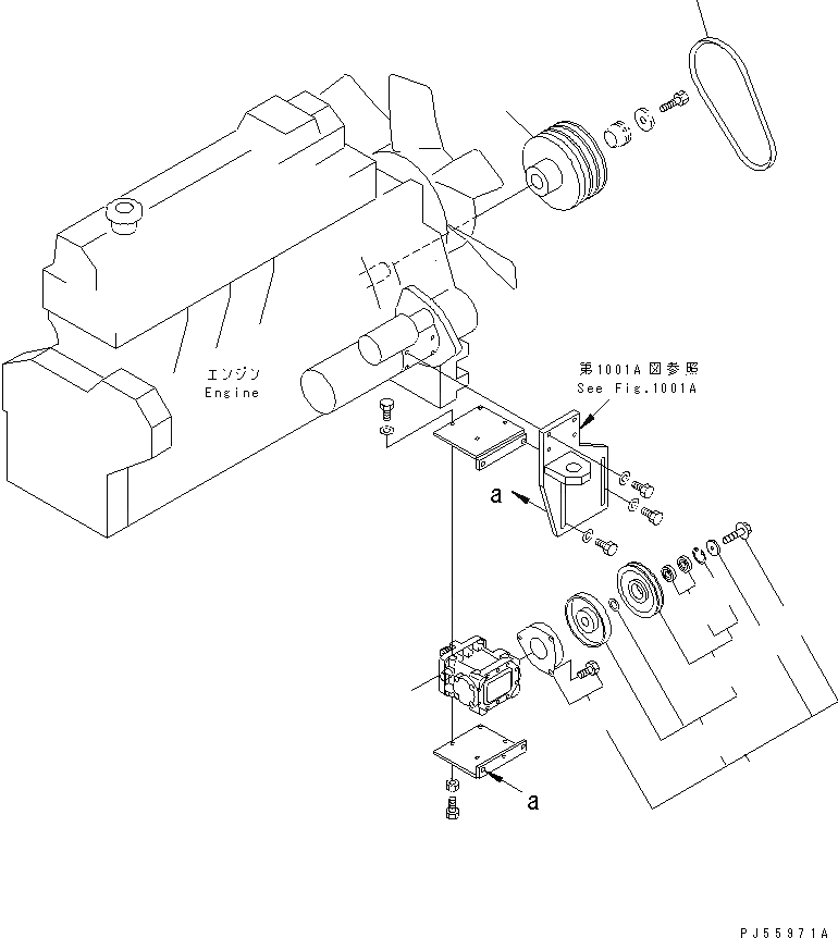
Запчасти кондиц. воздуха (/9) (comoressor и компоненты)(№-9) грейдеры gd305a-1 s/n 6001-6733 Komatsu



|1 263-809-5340 COMPRESSOR ASS'Y
1 145-Z79-6110 COMPRESSOR ASS'Y
2 145-Z79-6210 CLUTCH ASS'Y
3 145-Z79-6220 STATOR
4 145-Z79-6230 ROTOR SUB ASS'Y
5 145-Z79-6260 PULLEY SUB ASS'Y
6 145-Z79-6190 BEARING
7 04065-05520 RING,SNAP
8 145-Z79-6240 PLATE
9 145-Z79-6250 BOLT,WITH WASHER
10 04120-21735 V-BELT
11 6206-31-1430 PULLEY¤NON HARDENING
1
2
3
4
5
6
7
8
9
10
11
X
Рассчитать