zakaz@zapkomat.su
8 800 777-45-32
Расчитать заявку
Каталог
Типы
Гидравлика
Крепеж
Прокладки
Соединения
Кожухи
Электрика
Справочник
Запрос сотрудничества
Сервисным организациям
Контакты
Главная
Справочник
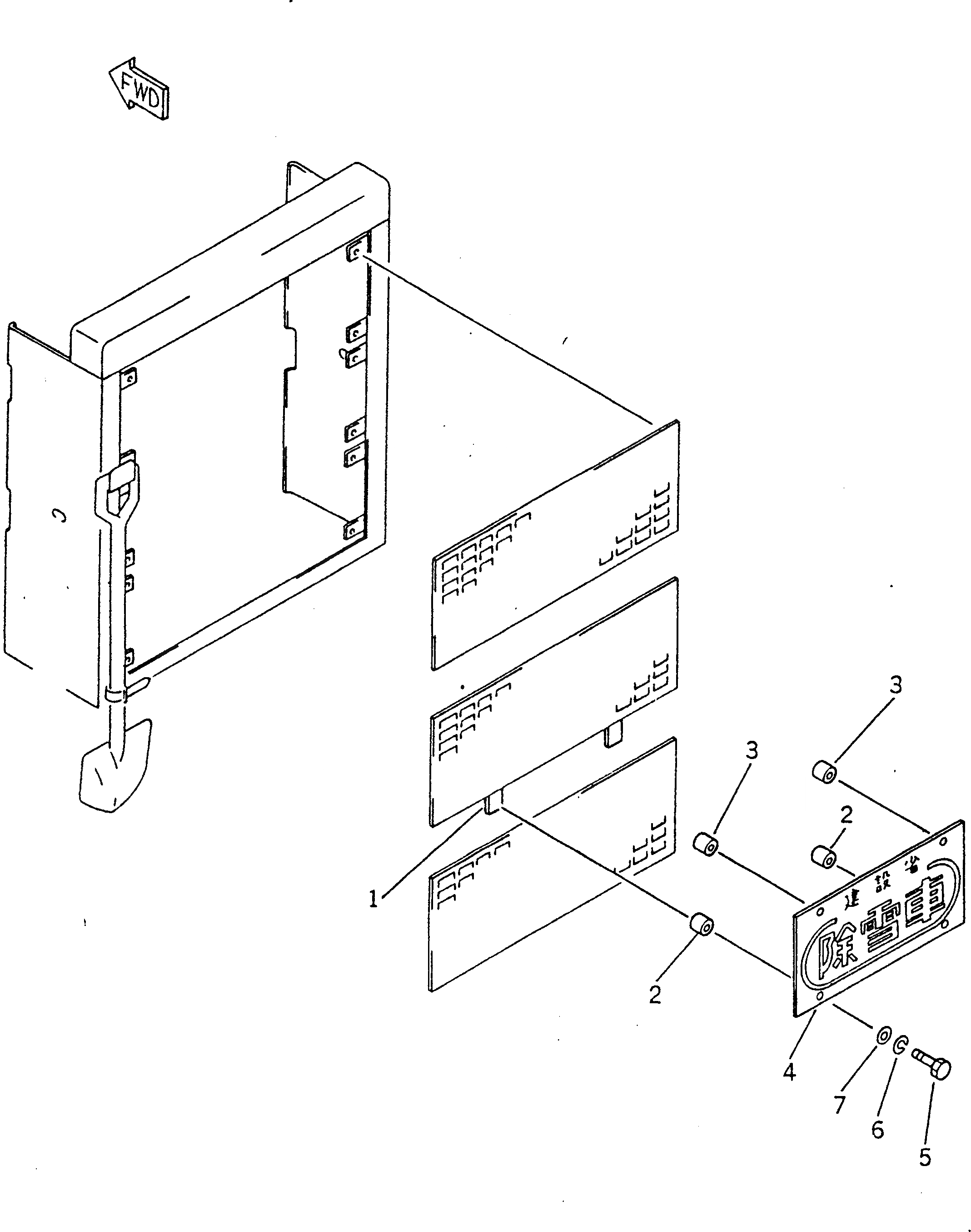
Запчасти маркировочн. панель грейдеры gd300a-1 s/n 2001-up Komatsu
1
233-954-9210
PLATE (WELDED)
2
232-954-9120
BOSS (WELDED)
3
234-46-11790
SEAT (WELDED)
4
232-954-9110
PLATE
5
01010-51016
BOLT
6
01602-21030
WASHER,SPRING
7
01643-31032
WASHER
X
Рассчитать
Ваше имя:
Телефон *:
E-mail:
Сообщение: Пришлите наличие и стоимость
Оформить заказ