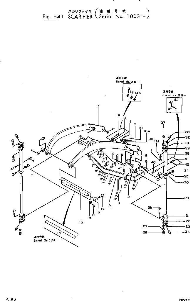
| |$0 | 233-70-13004 | SCARIFIER ASS'Y | |
| 1 | 233-70-13110 | BODY | |
| 2 | 232-70-13120 | STUD (WELDED) | |
| 3 | 09271-00045 | TOOTH | |
| 4 | 232-70-13140 | WEDGE | |
| 4 | 232-70-13141 | WEDGE | |
| 5 | 04050-06050 | PIN | |
| 6 | 233-70-13151 | DRAWBAR | |
| 7 | 233-70-13161 | DRAWBAR | |
| 8 | 232-70-13172 | BOLT | |
| 9 | 01580-02722 | NUT | |
| 10 | 01602-22783 | WASHER | |
| 10A | 01640-23045 | WASHER | |
| 12 | 01010-62490 | BOLT | |
| 13 | 01580-12419 | NUT | |
| 14 | 01602-22472 | WASHER | |
| 14A | 01640-22440 | WASHER | |
| 15 | 233-70-13191 | SHAFT | |
| 16 | 233-70-13210 | COLLAR | |
| 17 | 01011-51400 | BOLT | |
| 18 | 01598-11415 | NUT | |
| 19 | 04050-03020 | PIN | |
| |$22 | 233-70-00042 | CONNECTING ROD A. | |
| 20 | 233-70-13310 | ROD | |
| 21 | 232-70-13321 | JOINT | |
| 22 | 232-71-11340 | SHIM, 0.2MM (KIT) | |
| 23 | 232-70-13410 | CAP | |
| 24 | 07020-00000 | FITTING | |
| 25 | 01010-51665 | BOLT | |
| 26 | 01580-11613 | NUT | |
| 27 | 01602-21648 | WASHER | |
| |$31 | 233-70-00051 | CONNECTING ROD A.,L.H. | |
| |$32 | 233-70-00061 | CONNECTING ROD A.,R.H. | |
| 28 | 233-70-13330 | ROD,L.H. | |
| 28 | 233-70-13320 | ROD,R.H. | |
| 29 | 232-70-13342 | BALL | |
| 31 | 232-71-11340 | SHIM, 0.2MM (KIT) | |
| 32 | 232-71-11330 | CAP | |
| 33 | 01010-51680 | BOLT | |
| 34 | 01580-01613 | NUT | |
| 35 | 01602-11648 | WASHER | |
| 36 | 07020-00000 | FITTING | |
| 37 | 01010-51665 | BOLT | |
| 38 | 01580-11613 | NUT | |
| 39 | 01602-21648 | WASHER | |
| 43 | 232-70-13440 | PIN | |
| 44 | 232-70-13361 | PIN |