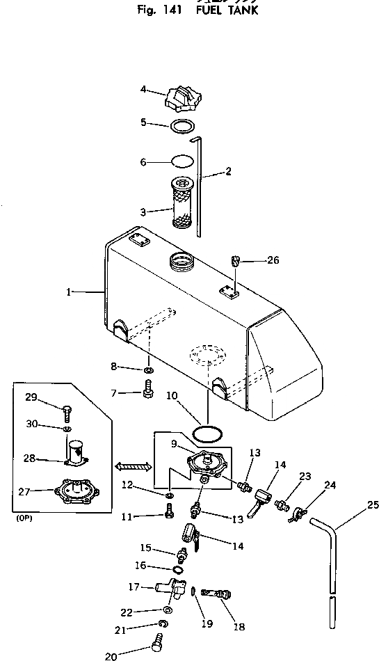
| |1 | 141-04-00750 | FUEL TANK ASS'Y | |
| 1 | 141-04-51110 | TANK | |
| 2 | 141-04-32111 | GAUGE,OIL LEVEL | |
| 3 | 07056-18416 | STRAINER | |
| 4 | 07050-21200 | CAP | |
| 5 | 07050-21202 | GASKET | |
| 6 | 07057-04087 | RING | |
| 7 | 01010-31435 | BOLT | |
| 8 | 01602-01442 | WASHER | |
| |9 | 141-04-00531 | VALVE ASS'Y,LOWER STRAINER | |
| 9 | 141-04-33110 | FLANGE | |
| 10 | 07000-02135 | O-RING | |
| 11 | 01010-31025 | BOLT | |
| 12 | 01602-01030 | WASHER | |
| 13 | 131-04-54120 | NIPPLE | |
| 14 | 07700-40460 | VALVE | |
| 15 | 135-04-13151 | NIPPLE | |
| 16 | 07000-02015 | O-RING | |
| 17 | 141-04-33120 | CASE | |
| 18 | 154-04-12531 | STRAINER | |
| 19 | 07000-03038 | O-RING | |
| 20 | 01010-31030 | BOLT | |
| 21 | 01602-01030 | WASHER | |
| 22 | 01643-31032 | WASHER | |
| 23 | 141-04-31170 | NIPPLE | |
| 24 | 07280-01620 | CLAMP | |
| 25 | 07270-01260 | TUBE | |
| 26 | 07049-01012 | PLUG | |
| 27 | 141-04-33310 | FLANGE,(FOR ANTIFREEZE) | |
| 28 | 141-04-33320 | STRAINER,(FOR ANTIFREEZE) | |
| 29 | 01010-50812 | BOLT,(FOR ANTIFREEZE) | |
| 30 | 01602-20825 | WASHER,(FOR ANTIFREEZE) |