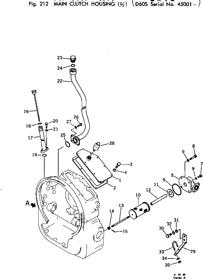
| 1 | 141-10-32133 | COVER | |
| 2 | 141-10-32143 | GASKET (KIT) | |
| 3 | 01010-31025 | BOLT | |
| 4 | 01602-01030 | WASHER | |
| 5 | 141-10-34250 | FLANGE | |
| 6 | 07000-03092 | O-RING (KIT) | |
| 7 | 01010-31030 | BOLT | |
| 8 | 01010-31065 | BOLT | |
| 9 | 01602-01030 | WASHER | |
| 10 | 144-10-12140 | STRAINER | |
| 11 | 170-10-16490 | GASKET (KIT) | |
| 12 | 170-10-16361 | SPACER | |
| 13 | 170-10-16372 | STUD | |
| 14 | 01593-01008 | NUT | |
| 15 | 04050-02025 | PIN (KIT) | |
| 16 | 141-10-56110 | GAUGE,OIL LEVEL | |
| 17 | 141-10-32321 | TUBE | |
| 18 | 07000-02018 | O-RING (KIT) | |
| 19 | 07000-03025 | O-RING (KIT) | |
| 20 | 01010-31035 | BOLT | |
| 21 | 01602-01030 | WASHER | |
| 22 | 141-10-32374 | FILLER | |
| 23 | 09250-00028 | CAP | |
| 24 | 07002-02434 | O-RING (KIT) | |
| 25 | 07000-03048 | O-RING (KIT) | |
| 26 | 01010-31030 | BOLT | |
| 27 | 01602-01030 | WASHER | |
| 28 | 07030-00252 | BREATHER | |
| 29 | 141-10-37250 | BRACKET | |
| 30 | 01010-31230 | BOLT | |
| 31 | 01643-31232 | WASHER | |
| 32 | 01602-01236 | WASHER | |
| 33 | 07283-03450 | CLIP | |
| 34 | 01643-01032 | WASHER | |
| 35 | 01599-01011 | NUT |