Запчасти пружина бульдозеры гусеничные d40f-3 s/n 6001-up Komatsu



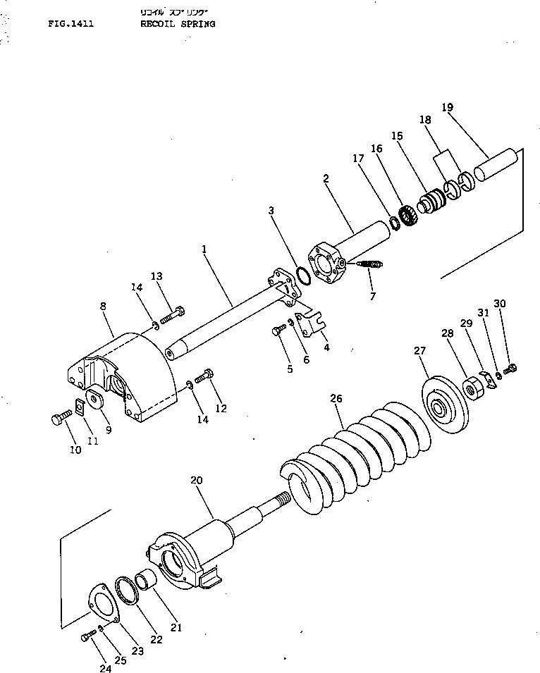
1 120-30-33241 ROD
2 125-30-21270 CYLINDER
3 07000-15058 O-RING
4 120-30-33231 BRACKET
5 01010-31235 BOLT
6 01602-01236 WASHER,SPRING
7 07959-20001 VALVE
7 07959-20000 VALVE
8 125-30-21250 YOKE ASS'Y
9 141-30-14130 WASHER
10 01010-31840 BOLT
11 141-30-14140 PLATE
12 01010-31450 BOLT
13 01010-31475 BOLT
14 01602-01442 WASHER,SPRING
15 125-30-14170 PISTON
16 09370-00060 U-PACKING
17 04064-03515 RING,SNAP
18 07155-00615 RING,WEAR
19 125-30-14160 COLLAR
|$20 125-30-00020 BOLT ASS'Y
20 BOLT
21 07177-08040 BUSHING
22 145-30-31320 SEAL,DUST
23 125-30-14190 COVER
24 01010-31020 BOLT
25 01602-01030 WASHER,SPRING
26 120-30-33311 SPRING,RECOIL
26 125-30-21510 SPRING,RECOIL
27 125-30-14150 PILOT
28 01580-13326 NUT
29 141-30-14350 PLATE
30 01010-31016 BOLT
31 01602-01030 WASHER,SPRING
X
Рассчитать