- Главная
- Справочник
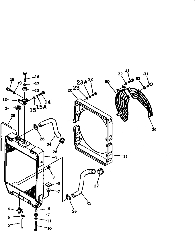
Запчасти радиатор и трубы(№-) бульдозеры гусеничные d40p-5 s/n 10001-up Komatsu
|
|
1 |
120-03-41110 |
CORE
|
|
|
2 |
113-03-21240 |
CAP
|
|
|
3 |
07042-00415 |
PLUG
|
|
|
4 |
07730-40004 |
VALVE
|
|
|
5 |
07270-01520 |
TUBE
|
|
|
6 |
07280-01920 |
CLAMP
|
|
|
7 |
113-03-21160 |
SEAT
|
|
|
8 |
113-03-21170 |
SPACER
|
|
|
9 |
113-03-21180 |
PLATE
|
|
|
10 |
01010-51070 |
BOLT
|
|
|
11 |
01602-21030 |
WASHER,SPRING
|
|
|
12 |
113-03-21190 |
BRACKET
|
|
|
13 |
135-03-12110 |
DAMPER
|
|
|
14 |
01010-51235 |
BOLT
|
|
|
15 |
01643-31232 |
WASHER
|
|
|
15A |
01602-21236 |
WASHER,SPRING
|
|
|
16 |
01010-51460 |
BOLT
|
|
|
17 |
01602-21442 |
WASHER,SPRING
|
|
|
18 |
01010-51035 |
BOLT
|
|
|
19 |
01643-31032 |
WASHER
|
|
|
20 |
120-03-41210 |
SHROUD,UPPER
|
|
|
21 |
120-03-41220 |
SHROUD,LOWER
|
|
|
22 |
01010-50816 |
BOLT
|
|
|
23 |
01643-30823 |
WASHER
|
|
|
23A |
01602-20825 |
WASHER,SPRING
|
|
|
24 |
120-03-32251 |
HOSE,INLET
|
|
|
25 |
120-03-32262 |
HOSE,OUTLET
|
|
|
|25 |
120-03-32261 |
HOSE,OUTLET
|
|
|
26 |
208-09-11120 |
CLAMP
|
|
|
|26 |
07281-00709 |
CLAMP
|
|
|
27 |
208-09-11120 |
CLAMP
|
|
|
|27 |
07281-00809 |
CLAMP
|
|
|
28 |
113-03-21140 |
TUBE
|
|
|
29 |
12F-03-41110 |
GUARD,FAN
|
|
|
30 |
120-03-41320 |
GUARD,FAN
|
|
|
31 |
01010-51025 |
BOLT
|
|
|
32 |
01602-21030 |
WASHER,SPRING
|