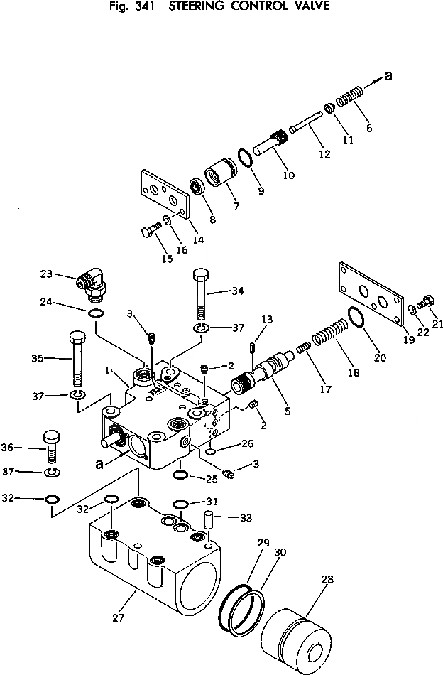
| |$0 | 125-40-00051 | CONTROL VALVE ASS'Y | |
| |$1 | 125-40-00061 | BODY ASS'Y | |
| 1 | BODY | ||
| 2 | 07043-00108 | PLUG | |
| 3 | 07042-20108 | PLUG | |
| 5 | 125-40-31442 | SPOOL | |
| 6 | 120-40-31511 | SPRING | |
| 7 | 120-40-31431 | COLLAR | |
| 8 | 113-15-29110 | SEAL,OIL (KIT) | |
| 9 | 07000-03025 | O-RING (KIT) | |
| 10 | 120-40-31473 | STEM | |
| 11 | 120-40-31493 | GUIDE | |
| 12 | 120-40-31483 | SHAFT | |
| 13 | 04025-00316 | PIN,SPRING | |
| 14 | 120-40-31361 | PLATE | |
| 15 | 01010-30820 | BOLT | |
| 16 | 01602-00825 | WASHER,SPRING | |
| 17 | 702-11-11190 | PISTON | |
| 18 | 120-40-31521 | SPRING | |
| 19 | 120-40-31451 | PLATE | |
| 20 | 07000-03030 | O-RING (KIT) | |
| 21 | 01010-30820 | BOLT | |
| 22 | 01602-00825 | WASHER,SPRING | |
| 23 | 07235-10422 | ELBOW | |
| 24 | 07002-02034 | O-RING (KIT) | |
| 25 | 07000-02020 | O-RING (KIT) | |
| 26 | 07000-02012 | O-RING (KIT) | |
| 26 | 120-40-00030 | CYLINDER ASS'Y | |
| 27 | 120-40-31211 | CYLINDER | |
| 28 | 120-40-31220 | PISTON | |
| 29 | 07000-05070 | O-RING (KIT) | |
| 30 | 07001-05070 | RING,BACK-UP (KIT) | |
| 31 | 07000-02020 | O-RING (KIT) | |
| 32 | 07000-02016 | O-RING (KIT) | |
| 33 | 04020-01228 | PIN,DOWEL | |
| 34 | 01010-31280 | BOLT | |
| 35 | 01010-31290 | BOLT | |
| 36 | 01010-31235 | BOLT | |
| 37 | 01602-01236 | WASHER,SPRING |