zakaz@zapkomat.su
8 800 777-45-32
Расчитать заявку
Каталог
Типы
Гидравлика
Крепеж
Прокладки
Соединения
Кожухи
Электрика
Справочник
Запрос сотрудничества
Сервисным организациям
Контакты
Главная
Справочник
Запчасти аккумулятор генераторы дизельные eg75s-1 s/n 1001-up Komatsu
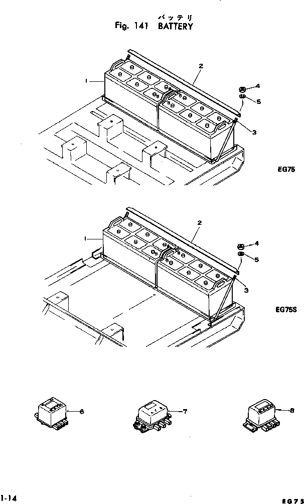
1
08000-01215
BATTERY (145G51)
2
TENBH1035
HOLDER
2
TES0002BB014
HOLDER
3
TENBS290
BOLT
3
TES0002BB022
BOLT
4
01580-00605
NUT
5
01640-00610
WASHER
6
600-815-1251
RELAY,EMERGENCY
7
6004311-0-00
REGULATOR ASS'Y
8
6684-81-3310
SAFETY RELAY ASS'Y,SAFETY
X
Рассчитать
Ваше имя:
Телефон *:
E-mail:
Сообщение: Пришлите наличие и стоимость
Оформить заказ