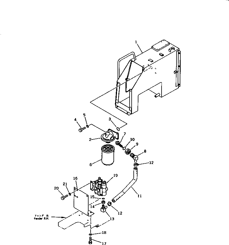
| 1 | 103-54-34314 | CASE,HYDRAULIC TANK | |
| 1 | 103-54-34313 | CASE,HYDRAULIC TANK | |
| 1 | 103-54-34311 | CASE,HYDRAULIC TANK | |
| 1 | 103-54-39112 | CASE,HYD. TANK (FOR BACK-UP ALARM) | |
| 1 | 103-54-39111 | CASE,HYD. TANK (FOR BACK-UP ALARM) | |
| 1 | 01434-10830 | BOLT, WING | |
| 2 | 113-60-43310 | BASE | |
| 2 | 103-60-23250 | BASE | |
| 3 | 07000-03032 | O-RING | |
| 4 | 01010-51025 | BOLT | |
| 5 | 01602-21030 | WASHER,SPRING | |
| 6 | 113-60-43321 | CARTRIDGE | |
| 6 | 113-60-43320 | CARTRIDGE | |
| 6 | 103-60-23240 | CARTRIDGE | |
| 7 | 113-60-43330 | VALVE | |
| 7 | 103-60-23260 | VALVE | |
| 8 | 103-60-23151 | ELBOW | |
| 9 | 113-60-23120 | NUT | |
| 10 | 07002-03334 | O-RING | |
| 11 | 103-60-33141 | HOSE | |
| 12 | 07281-00359 | CLAMP | |
| 13 | 103-60-23121 | NIPPLE | |
| 14 | 103-60-23170 | NUT | |
| 15 | 07002-02034 | O-RING | |
| 16 | 103-60-32110 | BRACKET | |
| 17 | 01010-50825 | BOLT | |
| 18 | 01602-20825 | WASHER,SPRING | |
| 19 | 709-22-11600 | VALVE ASS'Y | |
| 20 | 01010-50825 | BOLT | |
| 21 | 01602-20825 | WASHER,SPRING |