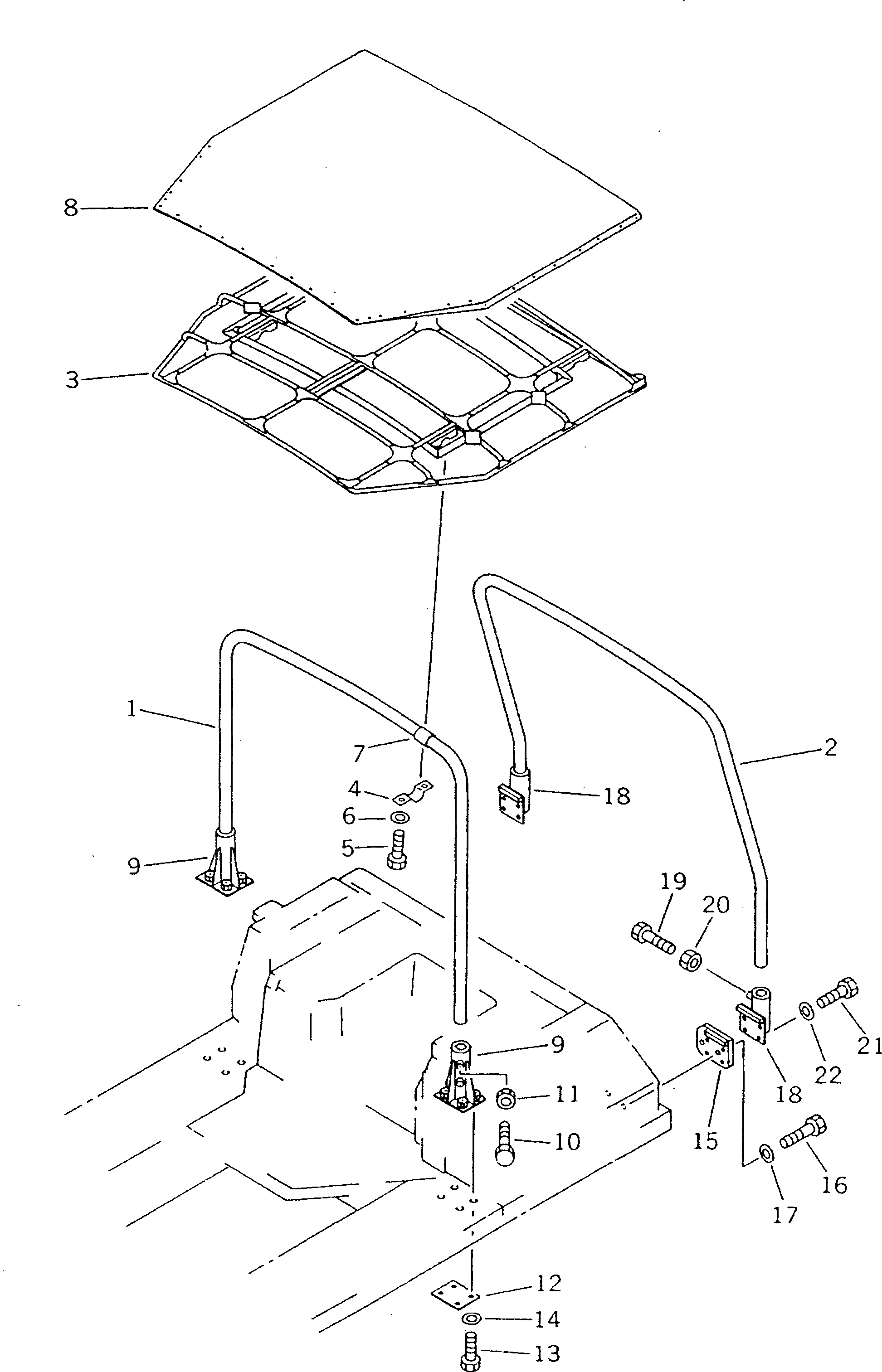
| G-1 | 154-906-X100 | CANOPY GROUP | |
| |$2 | 154-906-0050 | CANOPY ASS'Y | |
| 1 | 154-906-4120 | POLE,FRONT | |
| 2 | 154-906-4130 | POLE,REAR | |
| 3 | 154-906-4110 | ROOF,CANOPY | |
| 4 | 154-906-4160 | CLAMP | |
| 5 | 01010-61435 | BOLT | |
| 6 | 01643-31445 | WASHER | |
| 7 | 154-906-4170 | CUSHION | |
| 8 | 154-906-4191 | SHEET | |
| 9 | 154-906-4140 | BRACKET,FRONT | |
| 10 | 01016-51450 | BOLT | |
| 11 | 01580-11411 | NUT | |
| 12 | 154-906-4180 | PLATE | |
| 13 | 01010-62460 | BOLT | |
| 14 | 01643-32460 | WASHER | |
| 15 | 154-906-4151 | PLATE | |
| 16 | 01010-62460 | BOLT | |
| 17 | 01643-32460 | WASHER | |
| 18 | 09470-06425 | BRACKET | |
| 19 | 01010-61450 | BOLT | |
| 20 | 01580-11411 | NUT | |
| 21 | 01010-61845 | BOLT | |
| 22 | 01643-31845 | WASHER |