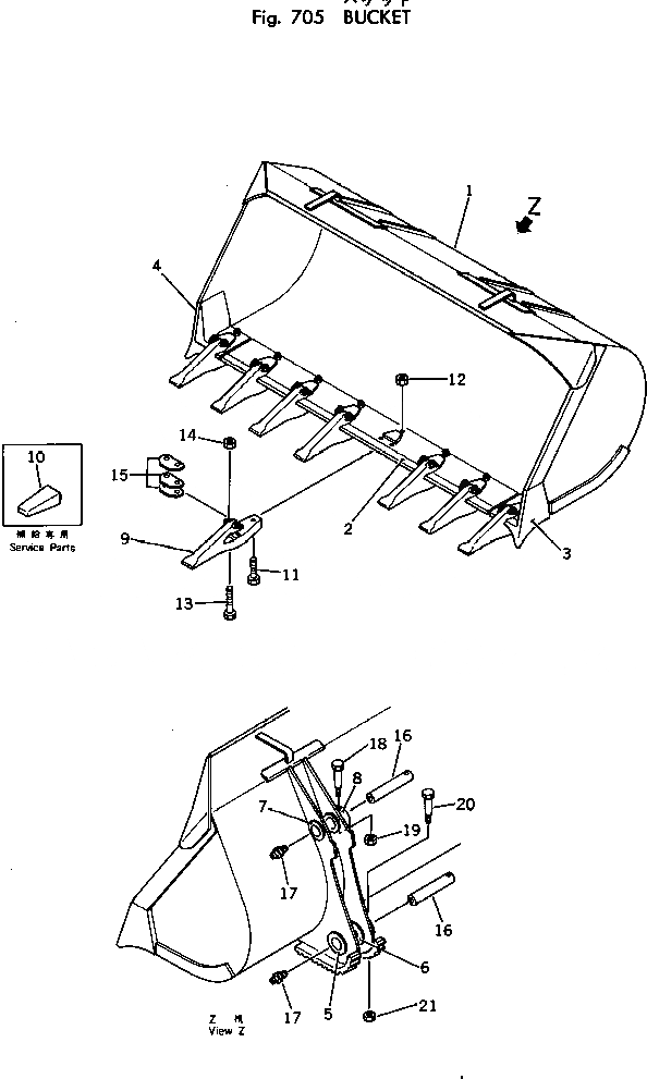
| 1 | 141-70-33211 | BUCKET, 1.8M3,1.8M3 | |
| 2 | 141-70-33221 | EDGE,CUTTING (WELDED) | |
| 2 | 141-70-33220 | EDGE,CUTTING (WELDED) | |
| 3 | 141-70-11421 | CORNER,L.H. (WELDED) | |
| 4 | 141-70-11431 | CORNER,R.H. (WELDED) | |
| 5 | 145-70-33150 | BOSS,OUTER, LOWER (WELDED) | |
| 6 | 145-70-33160 | BOSS,INNER, LOWER (WELDED) | |
| 7 | 141-70-33350 | BOSS,OUTER, UPPER (WELDED) | |
| 8 | 141-70-33360 | BOSS,INNER, UPPER (WELDED) | |
| |$9 | 145-70-00081 | TOOTH ASS'Y | |
| 9 | 145-70-19181 | TOOTH | |
| 10 | 145-70-44210 | TIP,(SERVICE PARTS) | |
| 11 | 09208-02280 | BOLT | |
| 12 | 09218-02219 | NUT | |
| 13 | 09208-02205 | BOLT | |
| 14 | 09218-02219 | NUT | |
| 15 | 145-70-00110 | SHIM ASS'Y | |
| 15 | SPACER, 0.5MM | ||
| 15 | SPACER, 1.6MM | ||
| 16 | 145-70-13210 | SHAFT | |
| 17 | 07020-00000 | FITTING | |
| 18 | 09204-00130 | BOLT | |
| 19 | 01599-01415 | NUT | |
| 20 | 09204-00140 | BOLT | |
| 21 | 01599-01415 | NUT |