zakaz@zapkomat.su
8 800 777-45-32
Расчитать заявку
Каталог
Типы
Гидравлика
Крепеж
Прокладки
Соединения
Кожухи
Электрика
Справочник
Запрос сотрудничества
Сервисным организациям
Контакты
Главная
Справочник
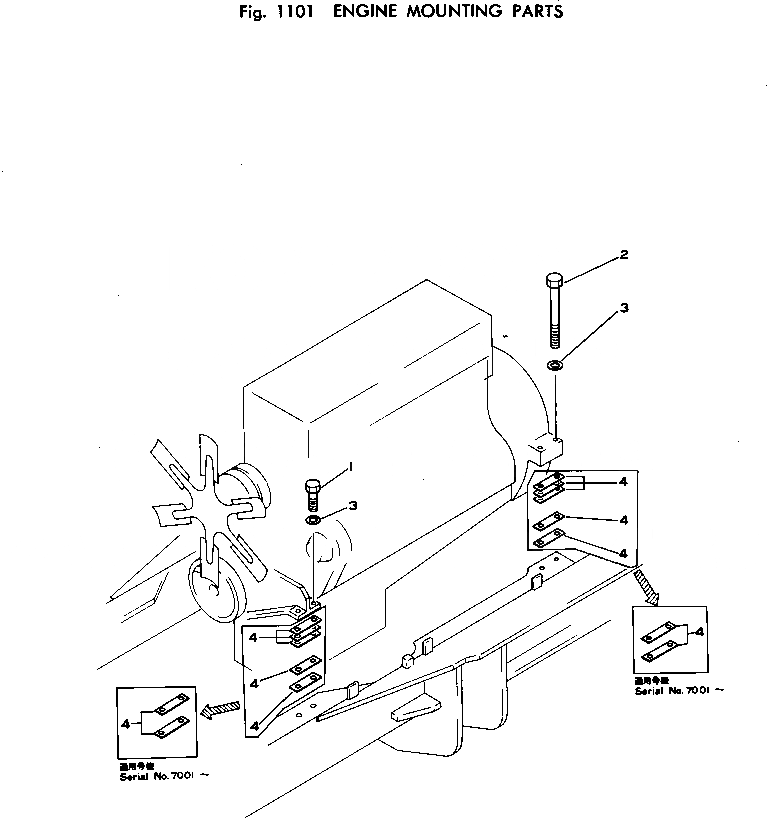
Запчасти крепление двигателя погрузчики гусеничные d75s-3 s/n 7001-up Komatsu
1
01018-11850
BOLT
2
01019-11825
BOLT
3
01643-31845
WASHER
4
145-01-41110
SHIM, 1.0MM
4
145-01-05100
SHIM ASS'Y
4
SHIM, 1.0MM
4
SHIM
4
SHIM
X
Рассчитать
Ваше имя:
Телефон *:
E-mail:
Сообщение: Пришлите наличие и стоимость
Оформить заказ