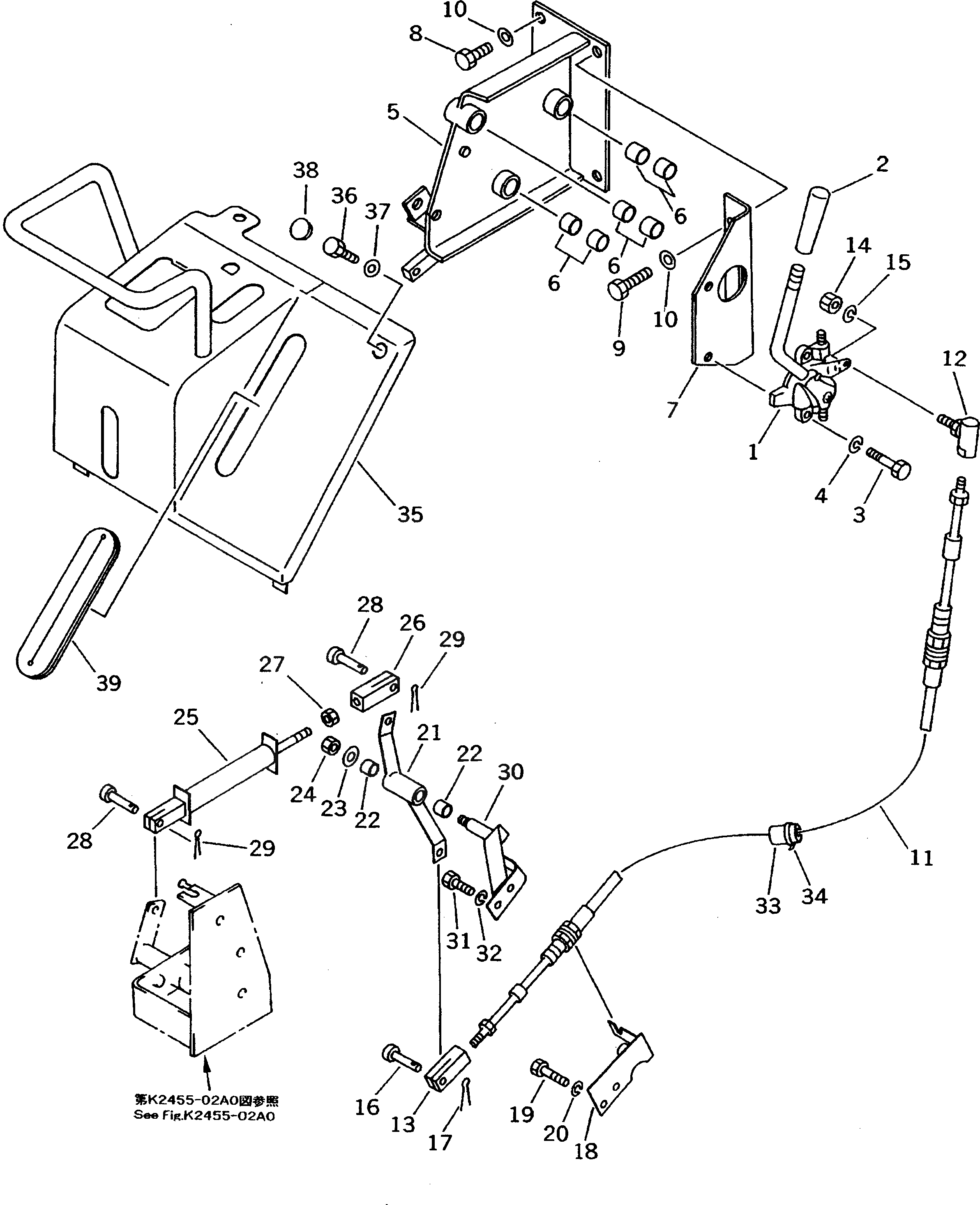
| 1 | 114-43-48220 | LEVER ASS'Y | |
| 2 | 203-43-44360 | KNOB | |
| 3 | 07372-21030 | BOLT | |
| 4 | 01602-21030 | WASHER,SPRING | |
| 5 | 114-43-48612 | BRACKET | |
| 6 | 363-43-27250 | BEARING | |
| 7 | 114-43-48770 | BRACKET | |
| 8 | 01010-51020 | BOLT | |
| 9 | 01010-51025 | BOLT | |
| 10 | 01643-31032 | WASHER | |
| 11 | 114-43-48210 | CABLE | |
| 12 | 103-43-25160 | END,ROD | |
| 13 | 113-43-44140 | YOKE | |
| 14 | 01580-10504 | NUT | |
| 15 | 01601-20513 | WASHER,SPRING | |
| 16 | 04205-10620 | PIN | |
| 17 | 04050-11612 | PIN,COTTER | |
| 18 | 113-43-46121 | BRACKET | |
| |18 | 113-43-46120 | BRACKET | |
| 19 | 01010-51020 | BOLT | |
| 20 | 01602-21030 | WASHER,SPRING | |
| 21 | 113-43-46140 | LEVER | |
| 22 | 09350-01420 | BUSHING | |
| 23 | 113-43-23230 | WASHER | |
| 24 | 01598-00809 | NUT | |
| 25 | 114-43-51130 | SPRING,LOOSE | |
| |25 | 113-43-46130 | SPRING,LOOSE | |
| 26 | 04211-20844 | YOKE | |
| 27 | 01580-10806 | NUT | |
| 28 | 04205-10822 | PIN | |
| 29 | 04050-12015 | PIN,COTTER | |
| 30 | 113-43-46170 | BRACKET | |
| 31 | 01010-51020 | BOLT | |
| 32 | 01602-21030 | WASHER,SPRING | |
| 33 | 201-43-22190 | BUSHING | |
| 34 | 08034-00310 | BAND | |
| 35 | 114-43-48423 | COVER | |
| 36 | 01252-30825 | BOLT | |
| 37 | 01643-30823 | WASHER | |
| 38 | 114-54-43260 | PLUG | |
| 39 | 114-43-48241 | GROMMET |