- Главная
- Справочник
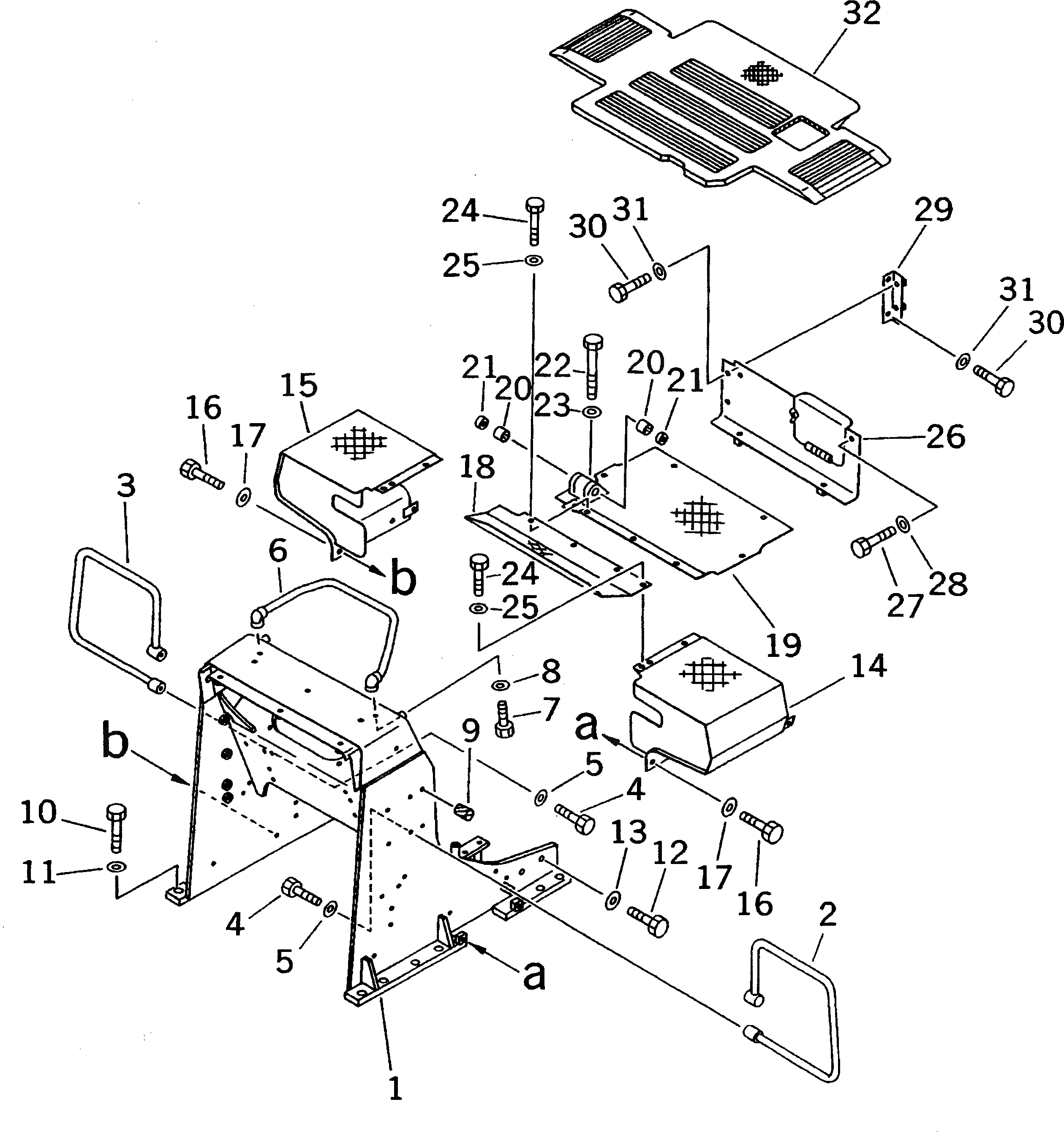
Запчасти погруз. рама и пол кабины (с педаль замедлителя оборотов) бульдозеры гусеничные d31pl-20 s/n 45001-up Komatsu
|
|
1 |
11G-54-51110 |
FRAME,LOADER
|
|
|
|1 |
11G-54-42310 |
FRAME,LOADER
|
|
|
2 |
114-54-42171 |
HANDLE,L.H.
|
|
|
|2 |
114-54-42170 |
HANDLE,L.H.
|
|
|
3 |
114-54-42171 |
HANDLE,R.H.
|
|
|
|3 |
114-54-42170 |
HANDLE,R.H.
|
|
|
4 |
01010-81245 |
BOLT
|
|
|
5 |
01643-31232 |
WASHER
|
|
|
6 |
104-54-31311 |
HANDLE
|
|
|
|6 |
114-54-42230 |
HANDLE
|
|
|
7 |
01010-81020 |
BOLT
|
|
|
8 |
01643-31032 |
WASHER
|
|
|
9 |
07049-01620 |
PLUG
|
|
|
10 |
01010-82060 |
BOLT
|
|
|
11 |
01643-32060 |
WASHER
|
|
|
12 |
01010-81640 |
BOLT
|
|
|
13 |
01643-31645 |
WASHER
|
|
|
14 |
11G-54-43311 |
FENDER,L.H.
|
|
|
15 |
11G-54-43321 |
FENDER,R.H.
|
|
|
16 |
01010-81025 |
BOLT
|
|
|
17 |
01643-31032 |
WASHER
|
|
|
18 |
113-54-43220 |
FLOOR,FRONT
|
|
|
19 |
113-54-43210 |
FLOOR,REAR
|
|
|
20 |
06120-01612 |
BEARING,NEEDLE
|
|
|
21 |
06122-01603 |
SEAL,BEARING
|
|
|
22 |
01010-81025 |
BOLT
|
|
|
23 |
01643-31032 |
WASHER
|
|
|
24 |
01010-81025 |
BOLT
|
|
|
25 |
01643-31032 |
WASHER
|
|
|
26 |
113-54-44110 |
COVER
|
|
|
|26 |
113-54-44510 |
COVER,FOR OIL DAMPER SEAT
|
|
|
27 |
01010-81020 |
BOLT
|
|
|
|27 |
01010-81025 |
BOLT,FOR OIL DAMPER SEAT
|
|
|
28 |
01643-31032 |
WASHER
|
|
|
|28 |
01602-21030 |
WASHER,FOR OIL DAMPER SEAT
|
|
|
29 |
114-54-43250 |
BRACKET
|
|
|
30 |
01010-81025 |
BOLT
|
|
|
31 |
01643-31032 |
WASHER
|
|
|
32 |
114-54-43121 |
MAT
|