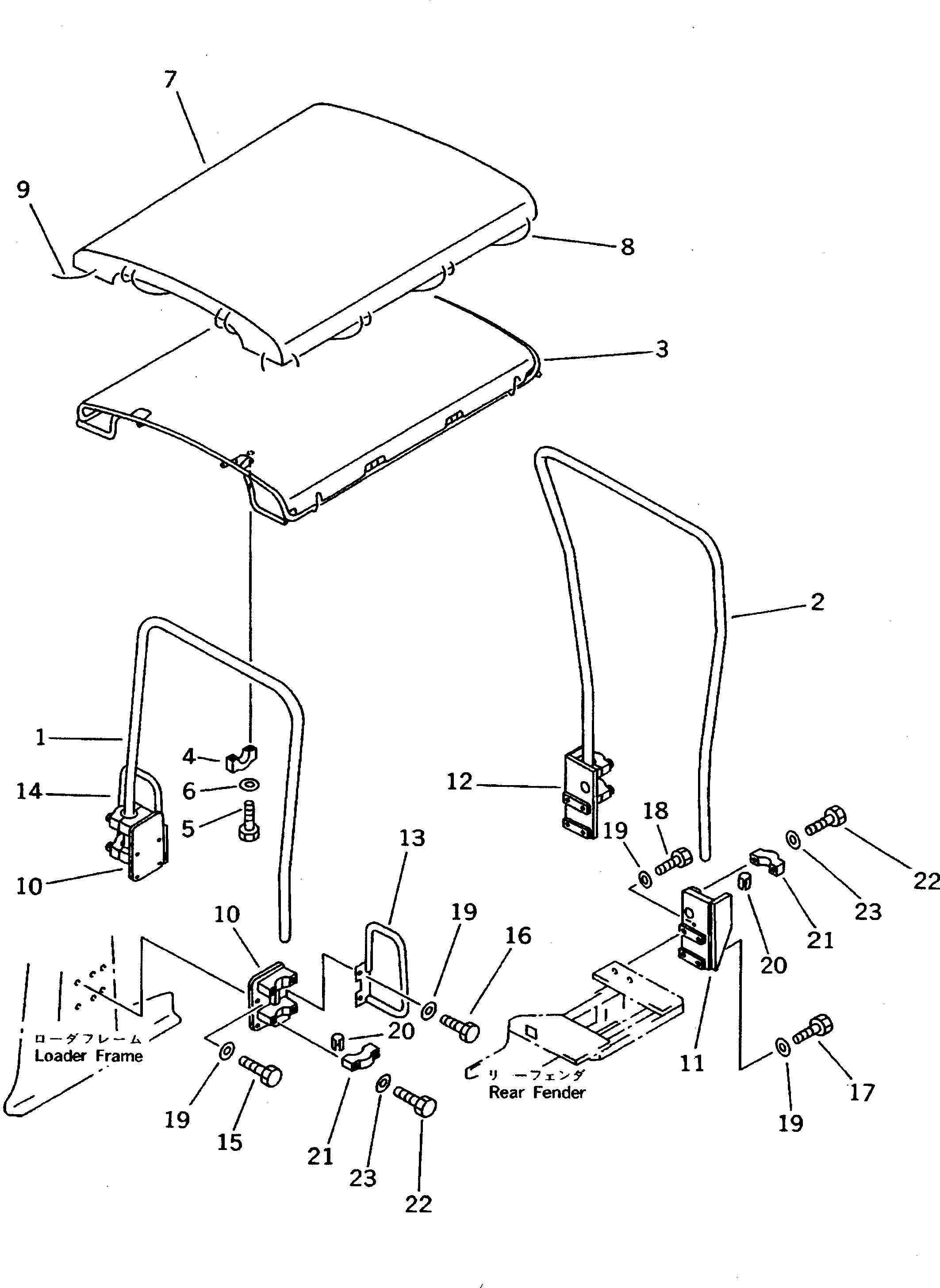
| 1 | 114-Z73-1110 | POLE,FRONT | |
| 2 | 113-Y73-3210 | POLE,REAR | |
| 3 | 113-Z73-1110 | ROOF | |
| 4 | 113-Z73-1120 | CAP | |
| 5 | 01010-81675 | BOLT | |
| 6 | 01643-31645 | WASHER | |
| 7 | 101-91-31140 | SHEET | |
| 8 | 131-906-1220 | ROPE¤ 8.5M,LONG | |
| 9 | 131-906-1230 | ROPE¤ 0.7M,SHORT | |
| 10 | 114-X73-2110 | BRACKET,FRONT | |
| 11 | 113-X73-2210 | BRACKET,REAR¤ L.H. | |
| 12 | 113-X73-2220 | BRACKET,REAR¤ R.H. | |
| 13 | 113-54-42210 | HANDLE,L.H. | |
| 14 | 113-54-42220 | HANDLE,R.H. | |
| 15 | 01010-81660 | BOLT | |
| 16 | 01010-81670 | BOLT | |
| 17 | 01010-81660 | BOLT | |
| 18 | 01010-81660 | BOLT | |
| 19 | 01643-31645 | WASHER | |
| 20 | 141-973-1250 | CUSHION | |
| 21 | 113-Z73-2130 | CAP | |
| 22 | 01010-81675 | BOLT | |
| 23 | 01643-31645 | WASHER |