| |$0 | 113-15-00401 | TRANSMISSION ASS'Y | |
| |$1 | 113-15-00400 | TRANSMISSION ASS'Y | |
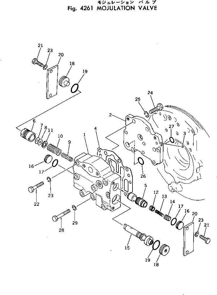
| |$2 | 113-15-00480 | VALVE ASS'Y | |
| 1 | 104-15-25110 | BODY | |
| |$4 | 113-15-00490 | SEAT ASS'Y | |
| 2 | SEAT | ||
| 3 | 04260-00635 | BALL | |
| 4 | 104-15-25140 | GASKET (KIT) | |
| 5 | 104-15-25210 | SPOOL | |
| 6 | 113-15-35220 | VALVE | |
| 7 | 113-15-25260 | SHIM, 0.5MM | |
| 8 | 113-15-25270 | SHIM, 0.2MM | |
| 9 | 104-15-25280 | SPRING | |
| 10 | 104-15-25290 | SPRING, (L= 62.0) | |
| 11 | 104-15-25260 | SPACER | |
| 12 | 104-15-25490 | VALVE | |
| 13 | 125-15-15290 | SPRING | |
| 14 | 104-15-25480 | VALVE | |
| 15 | 104-15-25321 | SPOOL | |
| 16 | 104-15-25340 | STOPPER | |
| 17 | 07000-72020 | O-RING (KIT) | |
| 18 | 104-15-25330 | STOPPER | |
| 19 | 07000-73025 | O-RING (KIT) | |
| 20 | 103-15-25350 | PLATE | |
| 21 | 01010-30820 | BOLT | |
| 22 | 01010-30860 | BOLT | |
| 23 | 01602-00825 | WASHER,SPRING | |
| 24 | 01010-31025 | BOLT | |
| 25 | 01602-01030 | WASHER,SPRING | |
| 26 | 07000-72018 | O-RING (KIT) | |
| 27 | 07000-72014 | O-RING (KIT) | |
| 28 | 01010-30870 | BOLT | |
| 29 | 01602-00825 | WASHER,SPRING |