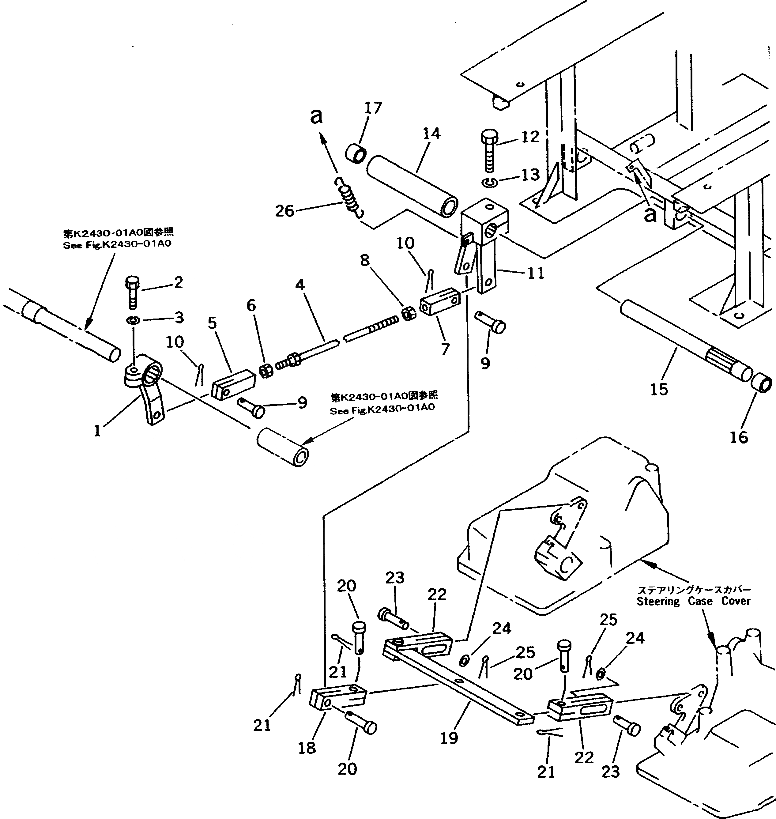
Запчасти педаль тормоза механизм бульдозеры гусеничные d31e-20 s/n 42001-up (trimming dozer) Komatsu



1 113-43-41210 LEVER
2 01010-81245 BOLT
3 01602-21236 WASHER,SPRING
4 04248-31276 ROD
5 04211-21266 YOKE
6 01582-11210 NUT
7 113-43-41360 YOKE,L.H. THREAD
8 01508-41207 NUT,L.H. THREAD
9 04205-11235 PIN
10 04050-13022 PIN,COTTER
11 113-43-41311 LEVER
12 01010-81040 BOLT
13 01602-21030 WASHER,SPRING
14 113-43-41330 COLLAR
15 114-43-41210 SHAFT
16 09350-03020 BUSHING
17 09350-02820 BUSHING
18 113-43-41410 YOKE
19 113-43-41420 PLATE
20 04205-11235 PIN
21 04050-13022 PIN,COTTER
22 113-43-41430 YOKE
23 04205-11238 PIN
24 01641-21223 WASHER
25 04050-13022 PIN,COTTER
26 198-43-19250 SPRING
X
Рассчитать