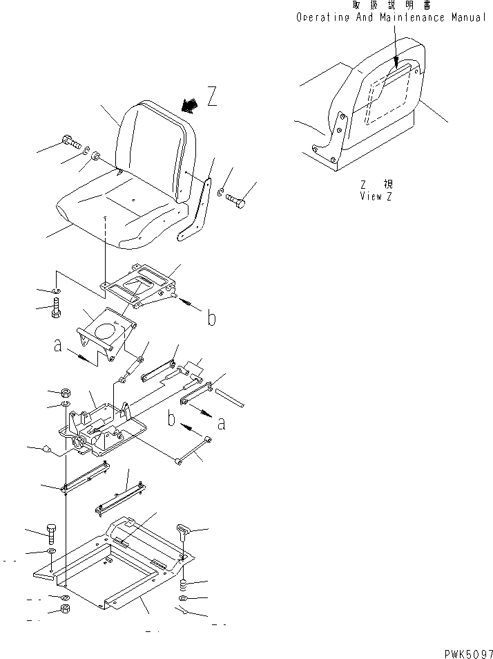
| 1 | 120-57-31252 | CUSHION,BACK | |
| 2 | 120-57-31461 | PLATE | |
| 3 | 120-57-31322 | CUSHION,SEAT | |
| 4 | 120-57-31241 | SPACER | |
| 5 | 01010-81020 | BOLT | |
| 6 | 01602-21030 | WASHER | |
| |7 | 103-57-39130 | SUSPENSION ASS'Y | |
| 7 | LINK | ||
| 8 | GUIDE | ||
| 9 | LINK | ||
| 10 | BASE | ||
| 11 | 01580-11210 | NUT | |
| 12 | 01602-21236 | WASHER,SPRING | |
| 13 | 09304-00835 | KNOB | |
| 14 | BRACKET | ||
| 15 | BRACKET | ||
| 16 | LINK | ||
| 17 | 120-57-31411 | DAMPER,OIL | |
| 18 | 155-57-12150 | ADJUSTER | |
| 19 | 01010-81020 | BOLT | |
| 20 | 01602-21030 | WASHER | |
| 21 | 103-57-31164 | PLATE | |
| 22 | 113-54-24190 | HINGE (WELDED) | |
| 23 | 09459-11033 | LOCK | |
| 24 | 09459-01614 | SPRING | |
| 25 | 01642-01016 | WASHER | |
| 26 | 04050-13015 | PIN,COTTER | |
| 27 | 01580-11210 | NUT | |
| 28 | 01643-31232 | WASHER | |
| 29 | 01010-81025 | BOLT | |
| 30 | 01643-31032 | WASHER |